Motorcycles

Honda files patents for brand new, fuel injected two-stroke engine

Honda files patents for brand new, fuel injected two-stroke engine
Honda plans to revive the two-stroke engine, according to patent documents lodged earlier this month
Honda plans to revive the two-stroke engine, according to patent documents lodged earlier this month
View 6 Images
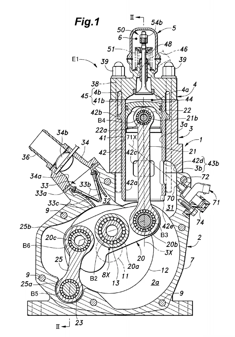
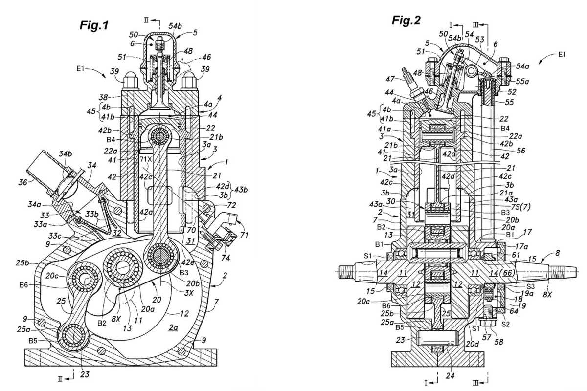
Honda's fuel-injected two-stroke engine patent, showing a lower positioning for the fuel injector (labelled #71)
1/6
Honda's fuel-injected two-stroke engine patent, showing a lower positioning for the fuel injector (labelled #71)
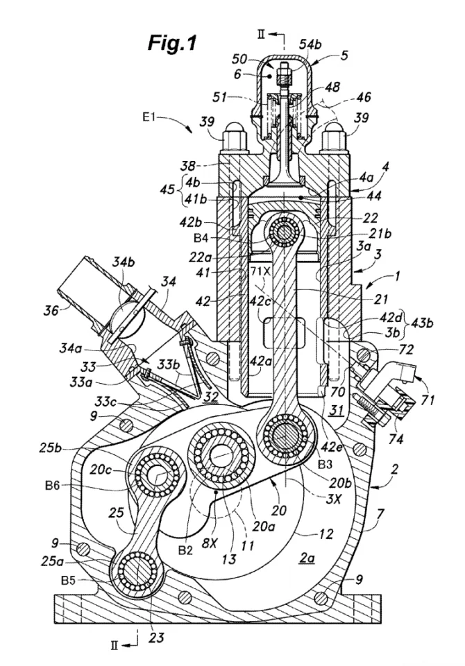
Engine cycle - the fuel is injected close to top dead centre, after the exhaust valve has closed, leading to higher efficiency, less unburned fuel and reduced emissions
2/6
Engine cycle - the fuel is injected close to top dead centre, after the exhaust valve has closed, leading to higher efficiency, less unburned fuel and reduced emissions
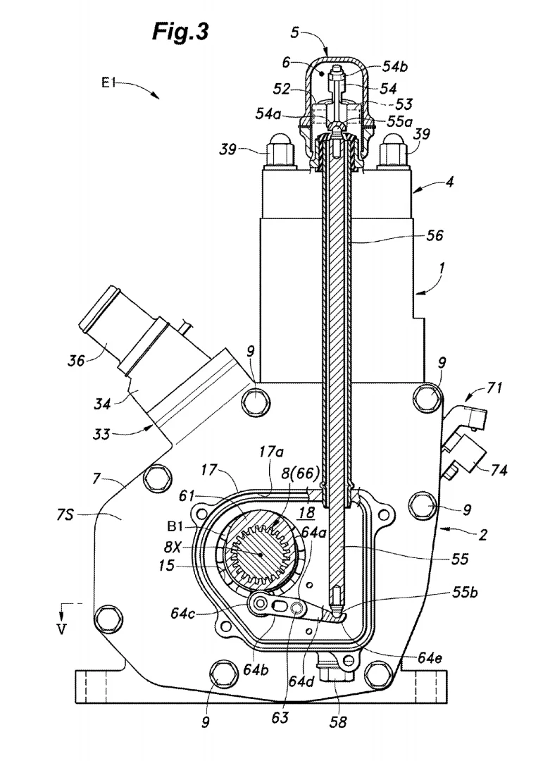
Valve actuation is by pushrod - thus, this design is unlikely to be a high performance motorcycle engine
3/6
Valve actuation is by pushrod - thus, this design is unlikely to be a high performance motorcycle engine
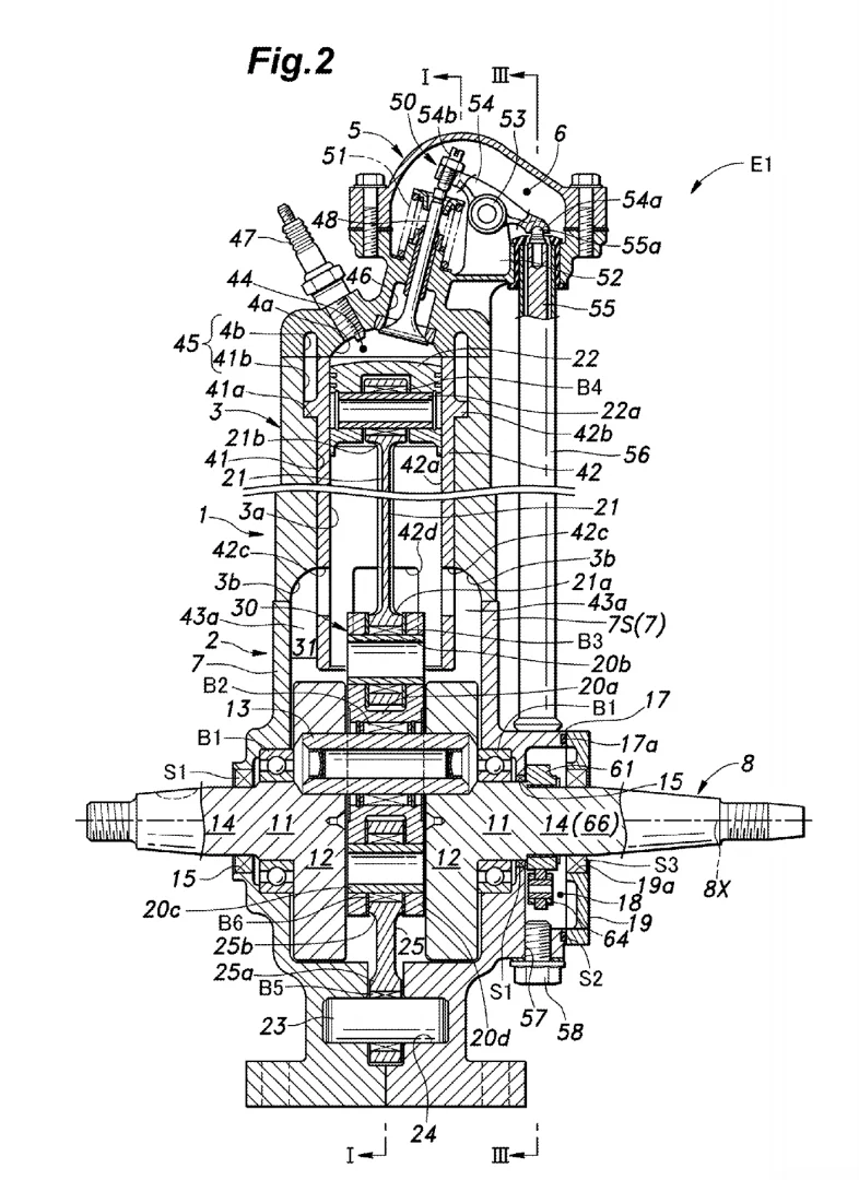
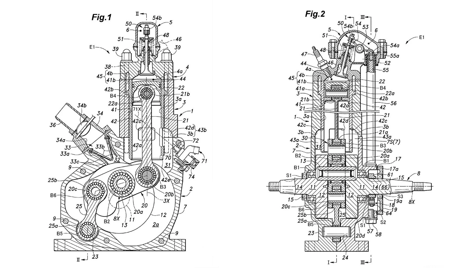
Front-on view of Honda's two-stroke injected engine. Note the wide platform at the bottom - this could be a mounting flange if this was to be used as a general purpose industrial engine
4/6
Front-on view of Honda's two-stroke injected engine. Note the wide platform at the bottom - this could be a mounting flange if this was to be used as a general purpose industrial engine
Honda's fuel-injected two-stroke engine patent
5/6
Honda's fuel-injected two-stroke engine patent
Honda plans to revive the two-stroke engine, according to patent documents lodged earlier this month
6/6
Honda plans to revive the two-stroke engine, according to patent documents lodged earlier this month
View gallery - 6 images

Two-strokes are far simpler machines than four-stroke engines. They’re also lighter, easier to work on, and downright angrier, pumping out a lot more power per cubic centimeter of displacement, which has won them a lot of fans. But they’ve had a reputation for belching out a fair bit of smoke and unburned fuel, a situation that just couldn’t fly alongside tightening emissions regulations around the world, so they’ve fallen out of favour. But now there’s a glimmer of hope. Earlier this month, Honda submitted a patent application for a brand new two stroke motor that uses direct fuel injection for a cleaner burn and better piston cooling. We may yet see a resurrection of the ring-dingers.

Uncovered by eagle-eyed patent hawks at Morebikes, the new patent describes a new two-stroke engine with a fuel injection system mounted on the back of the cylinder, pointing upwards toward the back wall of the cylinder bore. The injector is set to spray the fuel when the piston is near top dead center, so that unburned fuel won’t get swept out with the exhaust gases, and the fuel is aimed such that the cylinder and piston can both be partially cooled as the fuel evaporates against them.

Honda's fuel-injected two-stroke engine patent
Honda's fuel-injected two-stroke engine patent

Honda believes this design can help eliminate some of the complexity of other injected two-stroke designs, helping bring the production and maintenance costs down and potentially making them relevant for manufacture again.

It’s widely believed that Husqvarna and KTM, among others, are sitting on injected two-stroke motor designs and waiting on the right time to debut something. But word is, KTM expects its injected two-strokes to be so complex that they'll end up being as expensive and heavy as a four stroke engine, which could well kill demand. Perhaps with this design, Honda has managed to break down some of that complexity and find a package that can welcome the braappers back into the modern motorcycle landscape.

Front-on view of Honda's two-stroke injected engine. Note the wide platform at the bottom - this could be a mounting flange if this was to be used as a general purpose industrial engine
Front-on view of Honda's two-stroke injected engine. Note the wide platform at the bottom - this could be a mounting flange if this was to be used as a general purpose industrial engine

But language in this Honda patent, as well as the design drawings, suggest that this might not be conceived as a motorcycle engine at all – at least, not in its current form. In the first background paragraph of the application, Honda states that "the two-stroke engine is often preferred over the four-stroke engine in the field of general purpose engines because of the simplicity in the structure."

Furthermore, that diagram would seem to show a long-stroke engine with a pushrod valve system and a thick mounting flange at the bottom. In addition, the patent wording states that "the liquid fuel may consist of diesel oil or any other fuel that is provided with a lubricating property." All of which points toward an industrial generator-type machine rather than a high-performance motorcycle engine.

Even so, it shows Honda is still looking to innovate and develop in the two-stroke world – and there is most certainly a market (including Gizmag’s own highly emotional Mike Hanlon) that would love to see efficient, clean two-strokes come into the modern era. Stay tuned.

Source: USPTO via Fresh Patents

View gallery - 6 images
25 comments
25 comments
sheik480
I'm surprised neither gizmag nor the fellows at morebikes saw the similarities between this design and two stroke diesels. Also, given the literature, it would seem Honda is merely trying to design a simple, small, and cheap two stroke diesel sized more for cars and motorcycles than tractor trailers and ships. It's certainly not a high power per displacement design.
mhpr262
Wouldn't surprise me if it never finds its way into a motorcycle. The large rpm range required is a huge problem for engine designs. It is far, far easier to design a combustion engine, especially a two-stroke engine, to run at fixed rpms. It can be made to run far more efficent and cleaner that way, too.
andyfreeze
Guys you are forgetting one very good 2stoke design. Etec outboard engines. Could honda be looking at a new outboard design?
Daishi
I'm not a religious person but I think I would become one in exchange for a clean dependable 2 stroke motor making a comeback. I had an Aprilia RS50 (49cc 2 stroke) that would keep up with traffic and it's amazing that's even possible.
I would love to see a 2 stroke 125 or 250cc dual sport on the market but that's probably unlikely to happen. The actual use for it is probably something more boring like powering a generator for a car with an electric drive system after it runs out of battery.
DLK811
I'll be impressed if this design is better than the Grail Engine. Either way the power density of a clean 2 stroke would work well with a hybrid also.
Buellrider
If this ever comes to market it will probably be used where ever they want it to be used. The thing about patents is that they are public domain and Honda sure as heck isn't going to give out anymore information than is necessary. Certainly they aren't going to make it easy for patent cheats to manufacture a motorcycle by providing engineering drawings in a patent filing.
FranciscoGarcía
hre is another good 2 stroke engine
http://citsengine.com.au/
StWils
Whatever happened to the pulsed direct fuel injection system proposed for small engines like lawnmowers? This was launched on Kickstarter and featured in Gizmag.
AussieJohn
If as you say "The injector is set to spray the fuel when the piston is near top dead center, so that unburned fuel won’t get swept out with the exhaust gases, and the fuel is aimed such that the cylinder and piston can both be partially cooled as the fuel evaporates against them." Fig1 shows, that if top dead center timing is used, the fuel injector will spray its fuel underneath the piston! In this design the fuel injector will have to spray its fuel when the piston is at the bottom of its stroke.
Martin Hone
Anybody remember the Sarich designed injector ? It was a direct injection of fuel into the combustion chamber using high pressure air supplied by a simple compressor. A spin off of the Orbital Engine, but banned for racing because it was considered 'supercharging'
There was a bunch of 3 cylinder Suzuki-based engines in cars that underwent trials, and I even had the opportunity to drive one of Orbital's test vehicles - a 2-stroke, 6 cylinder fitted to a BMW car. Went like a rocket and sounded like a V12. Alas, now faded into the 'what if' category. Remember that one Mike Hanlon ?
Load More