Last year when we did an extensive feature on Ducati’s motogp carbon fibre semi-monocoque frame, we lauded its groundbreaking technology. Though Casey Stoner’s illness prevented the Desmosedici GP9 from challenging for the title, four wins showed it to be worth our plaudits. Now it seems Ducati is so pleased with its handiwork that the semi-monocoque design looks set to replace Ducati’s trademark trellis frame on its road bikes in the future too.
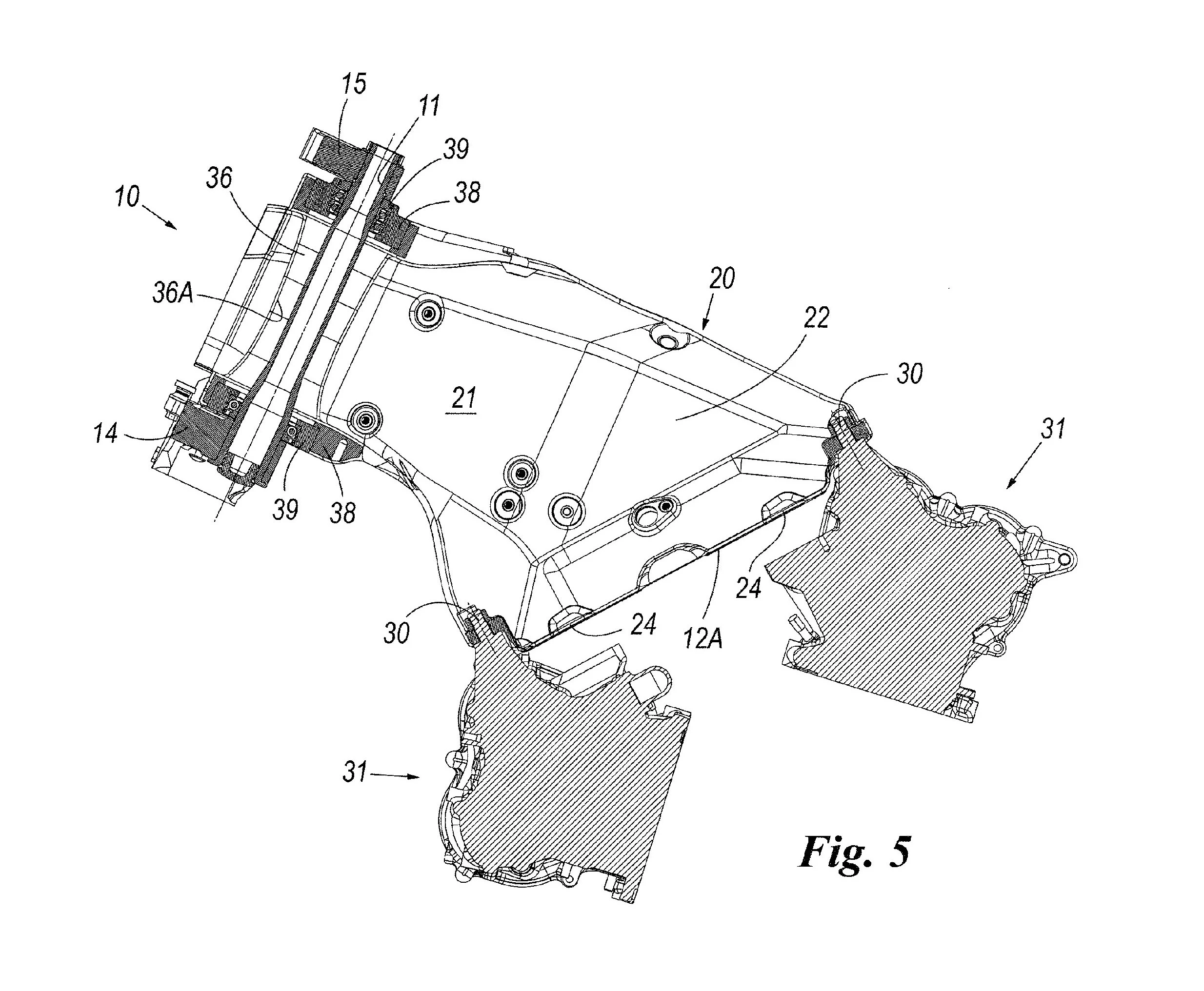
A recent patent application designed to protect Ducati’s GP9 and GP10 design which uses a structural airbox to bolt the steering head to the engine at the front of the motor, and to the sub-frame and swinging arm at the rear. The patent includes several references to roadbikes and production which clearly indicate that the design will be used on roadbikes in the future.
The main benefits of the frame are lower weight (a saving of at least five kilograms is envisaged over the existing road bike frames), greater rigidity, and greater design freedom.
The patent application can be found here.
 
         
 
 
 
 
 
 
 
 
 
 
 
 
 
 
