Drones

Amazon patents trucks that unleash and direct fleets of delivery drones

Amazon patents trucks that unleash and direct fleets of delivery drones
Amazon has patented a system where delivery vans could unleash and control fleets of robots to deliver goods
Amazon has patented a system where delivery vans could unleash and control fleets of robots to deliver goods
View 3 Images
A diagram of an Amazon van that would unload and direct a secondary vehicle to deliver parcels
1/3
A diagram of an Amazon van that would unload and direct a secondary vehicle to deliver parcels
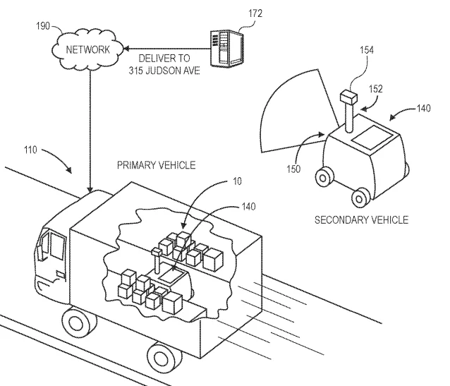
The primary vehicle (110) would analyze the best path for the secondary vehicle (140) to take, avoiding obstacles to reach the delivery area (A1)
2/3
The primary vehicle (110) would analyze the best path for the secondary vehicle (140) to take, avoiding obstacles to reach the delivery area (A1)
Amazon has patented a system where delivery vans could unleash and control fleets of robots to deliver goods
3/3
Amazon has patented a system where delivery vans could unleash and control fleets of robots to deliver goods
View gallery - 3 images

With a near monopoly on delivery, Amazon is understandably keen to make the job easier. The latest idea that may or may not eventually see the light of day is a new patent for a system where delivery vans would carry items almost to their destination, then send out and direct ground drones to do the final drop-off.

Amazon and other companies like UPS are already experimenting with drones that fly or drive to deliver everything from packages to pizza to medicine. But the humble delivery van doesn’t need to worry about being rendered redundant just yet – it turns out that drones are terribly inefficient on their own.

So in the new patent, Amazon describes how it would pair them with delivery vans to make both more efficient. First, a “primary vehicle” (read a van, truck, car etc) would be loaded up with items to be delivered, as well as secondary vehicles – either flying drones, small ground vehicles, or both. The idea is that the van would drive to the destination, park in the street, then send the smaller vehicle to drop the parcel at the doorstep or wherever it needs to go.

But here’s the clever bit – rather than load out each drone with its own sensors and pathfinding hardware, that can be outsourced to equipment back in the van. Cameras, radar, sonar, LiDAR, or other location sensors can analyze the best path for the drone to take, then beam the instructions to it wirelessly over Wi-Fi, Bluetooth, or the like.

The primary vehicle (110) would analyze the best path for the secondary vehicle (140) to take, avoiding obstacles to reach the delivery area (A1)
The primary vehicle (110) would analyze the best path for the secondary vehicle (140) to take, avoiding obstacles to reach the delivery area (A1)

The secondary vehicle could be equipped with some kind of marking, like a QR code or a logo, that the van’s camera can track as the drone moves around. If need be, it can then recalculate new paths or speeds to help the drone get around obstacles. After the drop-off has been made, the van can then instruct the drone on how to get back.

As with most patents, there are plenty of variations on this general scenario – the primary vehicle could be a van, truck, car, etc, and either autonomous or driven by humans. The secondary drone could crawl along on wheels or have legs like a Boston Dynamics robot, and may or may not have its own sensors. Entire fleets of these robots could service a neighborhood under the watchful eye of a single van.

Also like most patents, there’s no guarantee this system will ever actually get off the ground. But Amazon and other companies always want to be patenting new innovations, no matter how pie-in-the-sky, if just to keep the competition from stealing the best ideas. If everything in Amazon’s imagined patented future were to come to pass, we might have drones launching from airships, trains and huge hives, recharging at lamp posts, and dropping parcels with parachutes.

Source: US Patent and Trademark Office via Protocol

View gallery - 3 images
4 comments
4 comments
piperTom
In ancient times, patents were thought to be for NOVEL ideas... not something blindingly obvious, like pairing drones with trucks.
BlueOak
@piperTom has a slew of inventions implemented and bringing in the big bucks. Google it.
Bob Flint
PiperTom, I agree but this is a typical drawn application, with extraneous information thrown in to complicate and confuse. Not taking into account the operator & occupants of item 110, & 185 respectively. It implies they magically arrive at target A1 without enough detail to the methods of transfer of the payload. Which is typically the aim of any application to be as vague as possible.
Apply for one that simply takes a shorter route from 110 direct to 185 via retractable zipline/boom works for both pick-up & delivery.
fen
You're not supposed to be able to patent stuff like this. It's a clear and obvious use of the technology. Would be like applying for a patent of sitting in a room watching tv, and not inventing the house or the tv.