Drones

Samsung patents flying screen that follows the eye

Samsung patents flying screen that follows the eye
Samsung has been granted a patent for a "flying display device"
Samsung has been granted a patent for a "flying display device"
View 2 Images
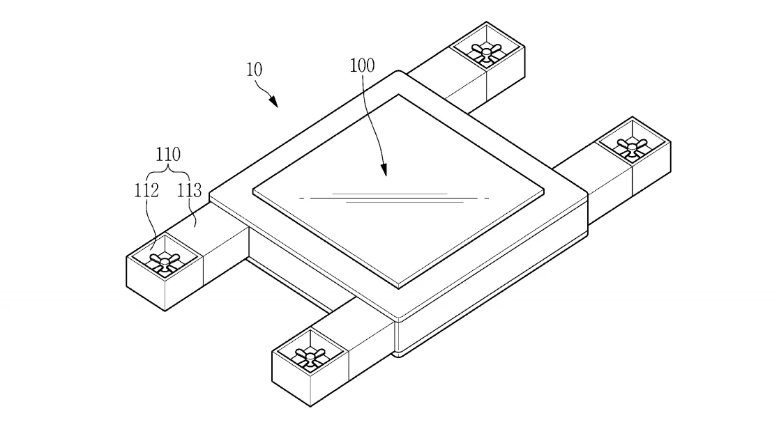
Samsung's proposed flying display device would be able to sense where a user is looking, and adjust the angle of the screen accordingly
1/2
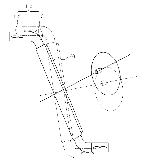
Samsung's proposed flying display device would be able to sense where a user is looking, and adjust the angle of the screen accordingly
Samsung has been granted a patent for a "flying display device"
2/2
Samsung has been granted a patent for a "flying display device"

If you've ever wished for a third hand so you can watch your phone while doing the dishes, Samsung might be answering your prayers in a roundabout, potentially dystopian way. The company has just been awarded a patent for a "flying display device" – a screen mounted on a quadcopter that follows your gaze.

According to the patent application, Samsung's device would be made up of an LCD screen held aloft by four propellers. The list of possible onboard components sounds like any other drone: the flying display would be kitted out with a flight control unit, power source, gyroscope, motion sensor, accelerometer, obstacle detection, GPS and a more local Wi-Fi-based positioning system. A sensor unit would be pointed at the user to track where their face and eyes are pointing, and to read and react to gestures and voice commands.

Samsung's proposed flying display device would be able to sense where a user is looking, and adjust the angle of the screen accordingly
Samsung's proposed flying display device would be able to sense where a user is looking, and adjust the angle of the screen accordingly

The patent papers say the drone can use these sensors to adjust its angle to keep the screen visible, and if you look away it could also buzz back around to stay in your line of sight. It could be handy to have a recipe hovering in front of you while your hands are busy with the cooking, or keeping instructions easy for factory workers to see. In these situations, voice and gesture controls could keep you from having to touch the device at all, letting you focus on the task at hand.

Of course, there are always potential Black Mirror-esque applications as well, and it's all too easy to imagine being accosted in the street by a swarm of these flying screens, all blaring ads that are literally impossible to ignore.

Either way, a patent doesn't necessarily mean that the tech will ever come to pass, but it's an interesting idea nonetheless.

The flying display device patent was filed in January 2016 and granted by the USPTO just last week, on February 13. It was dug out of the paperwork jungle by the Dutch website LetsGoDigital.

Source: USPTO via LetsGoDigital

5 comments
5 comments
Buzzclick
Sounds like a great and useful concept, but what about the racket this thing would make right next to you?
Bruce H. Anderson
I can't think of a practical use for this silliness.
Brian M
Hardly original and probably wouldn't really stand up to scrutiny if anyone really wanted to dispute the patent. Guess it was a lazy Tuesday at Samsung HQ when this one was dreamt up.
Strannik
Isn't it the ultimate advertising device? Just imagine a small billboard getting right in you face and you can't even look the other way because they follow your gaze! Creepy...
JeffK
If this is, or becomes, an actual problem requiring a solution, wouldn't something like Google Glasses make more sense? Besides which, most any self respecting house cat would ambush the thing and pin it down at the first opportunity!