Electronics

Sony patents universal 3D glasses

Sony patents universal 3D glasses
A front view of 3D glasses with closely spaced multiple embedded receivers
A front view of 3D glasses with closely spaced multiple embedded receivers
View 8 Images
Signal-wire diagram of a receiver module
1/8
Signal-wire diagram of a receiver module
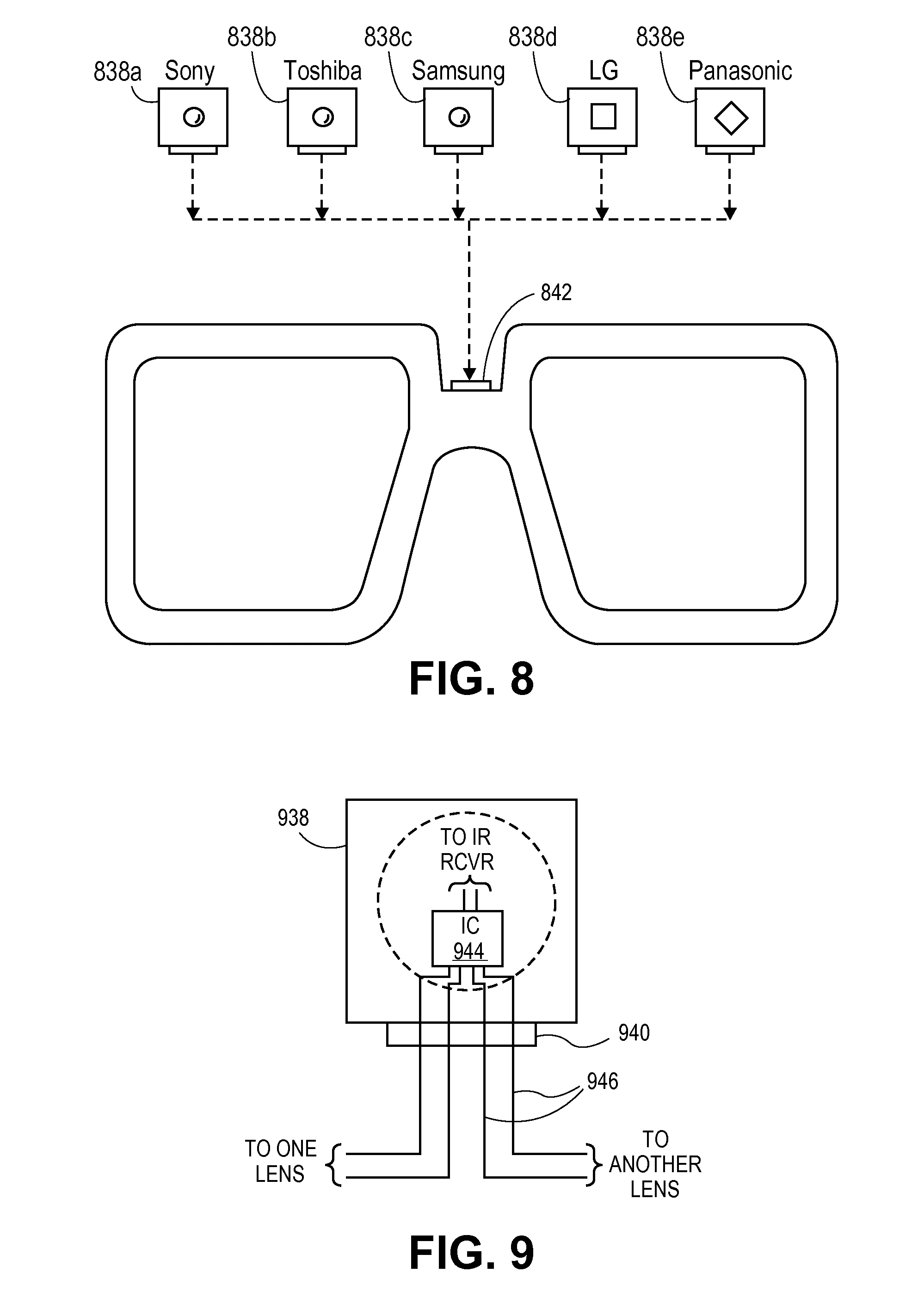
3D glasses with multiple embedded receivers
2/8
3D glasses with multiple embedded receivers
Switched logic circuits for 3D glasses
3/8
Switched logic circuits for 3D glasses
Helmet and goggles with active shutter lenses and multiple embedded receivers
4/8
Helmet and goggles with active shutter lenses and multiple embedded receivers
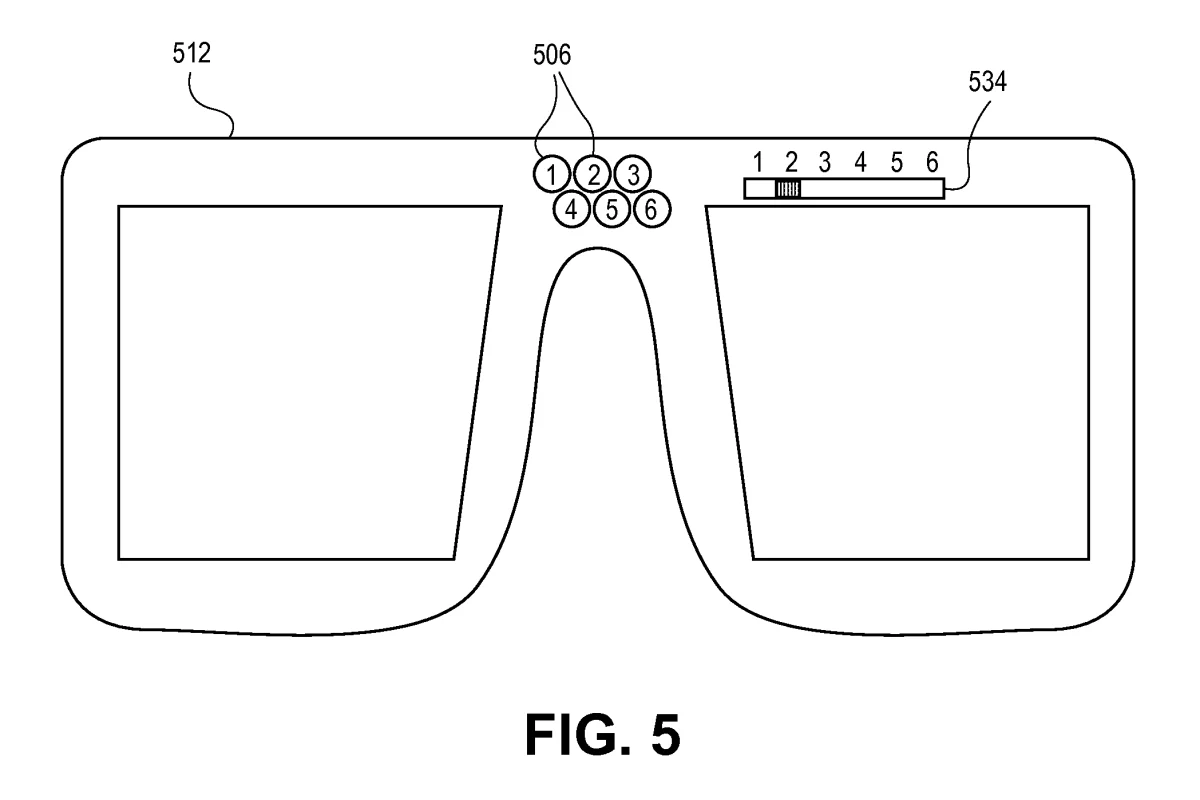
A front view of 3D glasses with closely spaced multiple embedded receivers
5/8
A front view of 3D glasses with closely spaced multiple embedded receivers
3D glasses with removable receivers
6/8
3D glasses with removable receivers
3D glasses with a kit of removable, swappable receivers
7/8
3D glasses with a kit of removable, swappable receivers
A flowchart of a process for 3D glasses
8/8
A flowchart of a process for 3D glasses
View gallery - 8 images

Sony has filed a US patent for 3D glasses that can be used with any 3D TV set. The glasses use a variety of downloadable software and interchangeable modules that hold out the promise of cheaper 3D glasses that aren't tied to a single receiver model.

One problem with 3D televisions is that the glasses they depend on are a bit like the remote controls. They may do their job, but using another manufacturer's device is like fitting the wrong key in a lock. Today, there are programmable remotes available for the price of a sandwich. The Sony 3D glasses described in the patent application are their equivalent.

All 3D televisions operate on a small set of basic principles. Some use colored or polarized lenses and some use liquid crystal shutters. The idea in each case is to provide each eye with a separate image, to provide an illusion of three dimensions. Colored and polarized lenses that will work on different sets are relatively easy to produce, but the more sophisticated LCD shutter glasses are another matter.

The glasses of one manufacturer won’t work with the set of another. That’s because each manufacturer’s glasses are made using proprietary technology. This is particularly true for LCD shutters, which use infrared signals to synchronize with the television signals. The result is that the glasses are very expensive and the manufacturers have a captive audience.

The Sony patent aims at making a pair of glasses that can be used with many, if not most, 3D televisions and outlines a number of possible approaches. Current glasses use an infrared transmitter either in the set or a peripheral box, and a receiver built into the frame of the glasses. The purpose of the infrared signal is to allow the set and glasses to synchronize with the television signal, so that the correct image will go to the correct eye to preserve the 3D effect.

Helmet and goggles with active shutter lenses and multiple embedded receivers
Helmet and goggles with active shutter lenses and multiple embedded receivers

According to Sony, the way to produce universal 3D glasses is to exploit microelectronics to install multiple receivers with either multiple infrared lenses or an adjustable lens in an eyeglass frame. These receivers can be selected by either looking the target set up in a list or pressing a program button on the frames, much as with universal remotes today, and the software to run them can be downloaded from the internet. Sony estimates that only about eight receivers would cover most, if not all, manufacturer protocols.

This basic design also covers a number of variations. The most obvious ones in the Sony patent are that the technology can also be incorporated into helmets, goggles and other configurations for video games. The glasses can also be made modular so that microcircuits can be swapped out to keep up with market demand and availability.

Source: US Patent Office via Patent Bolt

View gallery - 8 images
1 comments
1 comment
Gadgeteer
This won't change the fact that 3D TV really isn't taking off with consumers. 3D is a gimmick that adds little to viewing most programs and has a lot of drawbacks.