Outdoor Cooking

The pocket-sized, wood-fire burning, (eco friendly?) 180 camping stove

The pocket-sized, wood-fire burning, (eco friendly?) 180 camping stove
The 180 Stove vents and protects your fire so that it's focused on the pot above
The 180 Stove vents and protects your fire so that it's focused on the pot above
View 22 Images
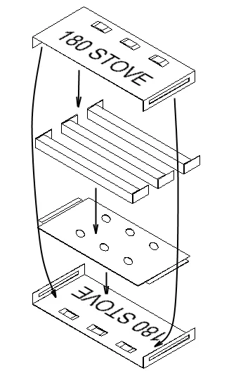
When broken down, the 180 stove is just over half-an-inch thick and 7 inches long
1/22
When broken down, the 180 stove is just over half-an-inch thick and 7 inches long
The 180 Stove assembles in minutes to give you a stable cooking platform
2/22
The 180 Stove assembles in minutes to give you a stable cooking platform
The optional ash pan makes the 180 Stove cleaner and less impactful on the environment
3/22
The optional ash pan makes the 180 Stove cleaner and less impactful on the environment
The 180 VL Stove offers nearly as much cooking space while weighing close to 100 percent less than the standard model
4/22
The 180 VL Stove offers nearly as much cooking space while weighing close to 100 percent less than the standard model
Like the regular 180 Stove, the VL packs small
5/22
Like the regular 180 Stove, the VL packs small
Two ash pan options are available
6/22
Two ash pan options are available
The 180 Stove vents and protects your fire so that it's focused on the pot above
7/22
The 180 Stove vents and protects your fire so that it's focused on the pot above
You can use grass, twigs, sticks and other natural fuel
8/22
You can use grass, twigs, sticks and other natural fuel
The stove is designed for hassle- and tool-free assembly
9/22
The stove is designed for hassle- and tool-free assembly
The stove is designed for hassle- and tool-free assembly
10/22
The stove is designed for hassle- and tool-free assembly
When broken down, the 180 stove is just over half-an-inch thick and 7 inches long
11/22
When broken down, the 180 stove is just over half-an-inch thick and 7 inches long
When broken down, the 180 stove is just over half-an-inch thick and 7 inches long
12/22
When broken down, the 180 stove is just over half-an-inch thick and 7 inches long
The 180 Stove assembles in minutes to give you a stable cooking platform
13/22
The 180 Stove assembles in minutes to give you a stable cooking platform
The optional ash pan makes the 180 Stove cleaner and less impactful on the environment
14/22
The optional ash pan makes the 180 Stove cleaner and less impactful on the environment
The 180 VL Stove offers nearly as much cooking space while weighing close to 100 percent less than the standard model
15/22
The 180 VL Stove offers nearly as much cooking space while weighing close to 100 percent less than the standard model
Like the regular 180 Stove, the VL packs small
16/22
Like the regular 180 Stove, the VL packs small
Two ash pan options are available
17/22
Two ash pan options are available
The 180 Stove vents and protects your fire so that it's focused on the pot above
18/22
The 180 Stove vents and protects your fire so that it's focused on the pot above
You can use grass, twigs, sticks and other natural fuel
19/22
You can use grass, twigs, sticks and other natural fuel
The stove is designed for hassle- and tool-free assembly
20/22
The stove is designed for hassle- and tool-free assembly
The stove is designed for hassle- and tool-free assembly
21/22
The stove is designed for hassle- and tool-free assembly
When broken down, the 180 stove is just over half-an-inch thick and 7 inches long
22/22
When broken down, the 180 stove is just over half-an-inch thick and 7 inches long
View gallery - 22 images

The 180 Stove is a simple, portable backpacking stove that relies on wood as its sole fuel. Unlike gas canisters and liquid propane, wood is a natural fuel that's available in all types of wilderness areas, making it a renewable, clean source of fuel for backwoods cooking. And since there are no canisters to buy, carry and dispose of, you save weight and space in your pack.

The 180 Stove's weight of 10.4 oz (295 g) is heavier than tiny, ultralight backpacking stoves, but since you don't have to carry a canister or any fuel (save maybe for dry tinder), you save on the asterisk weight. The stove is also super portable thanks to its compactable design. The three sides and three slats break down into a flat package that measures 3.25 x 7.0 x 0.63 inches (8.3 x 17.8 x 1.6 cm). It's so small, you can slide it into a jacket or pants pocket and it assembles in seconds without any need for tools.

The wood fire you create is the sole source of heat in the 180 Stove. There isn't any type of flame-intensifying fan, as is the case with stoves like the BioLite, but its three-sided stainless steel design blocks the wind, allowing you to more easily light and stoke a fire. Its cooking power will depend on how large of a fire that you build underneath it.

"The 180 Stove does channel heat onto the cooking pan, provides a great wind break, and provides plenty of air intake to keep the flames going," Curtis Linville of 180 Tack, LLC explained. "In our tests in sub-freezing temperatures, the 180 Stove boiled 16 oz (473 ml) of water starting with ice in it in about 6 minutes. This was with only a moderate fire. More impressive fires could be used."

One of the other advantages that the company touts is the green nature of the stove. It claims that since the 180 Stove doesn't use any toxic fuels or require disposable canisters, it is greener than other stoves. This is debatable and depends upon how it's used and what your personal views on "eco friendly" are. While the stove is indeed greener in terms of its fuel, the open-bottomed design means that you're burning directly on the ground, something that has the tendency to scar the earth and leave remnants in what might otherwise be a pristine wilderness.

When broken down, the 180 stove is just over half-an-inch thick and 7 inches long
When broken down, the 180 stove is just over half-an-inch thick and 7 inches long

One of Leave No Trace's principles says to "use established fire rings, fire pans, or mound fires." LNT explains that fires change the look of the natural landscape because people take firewood and leave charred remnants behind. Essentially, if all backcountry users started fires, it would leave a rather large "trace" on the environment. For this reason, the organization encourages the use of camping stoves that don't rely on wood fires. 180 Tack suggests covering the burned area with dirt, but embers, ashes, charred rocks, etc. and bushes and trees stripped for firewood could still change the landscape from its natural state.

Linville told us that the company offers an ash pan for this reason. The ash pan slides underneath the stove and contains all the ashes and charred wood so that you can dispose of them afterwards.

One issue the ash pan won't solve, though: Some backcountry areas ban fires all together or at high-danger times (partly for the Leave No Trace ideals mentioned), so you may not be able to use a stove like this. And since it's a small stove designed specifically for backcountry use, that could be a problem depending upon where you plan to travel.

The 180 Stove is available for US$46.95 through 180's website. For those that prefer to go even lighter, 180 also offers the 180 VL Stove, a V-shaped, 2-slat stove that weighs just 5.9 oz (167 g). While the VL stove is nearly half the weight, it is about the same size when compacted down. It costs $29.95.

Below you'll find a tutorial on how to use the stove. Decide for yourself if it's a more environmentally friendly alternative to existing options like canister and liquid fuel stoves.

Source: 180 Tack

View gallery - 22 images
11 comments
11 comments
Slowburn
That is more of a portable fire ring than a stove. A small portable charcoal grill would work as well and keep the fire from the ground. Burn the wood to fine white ash and scatter it thinly enough that you cant see where it reached the ground. Keep any charcoal for your next fire.
derekalberts
You\'ve got to be kidding! Almost US$50 for a contraption that will do the same job as a lighweight grid and two stones, collected for free?
hemanthakumar.reddyvaari
Are you making fun from your articles? Are you Gizmag people thinking the readers doesn\'t know anything or grownup in cage without any knowledge?
As the most of articles from Gizmag are like something, that is very common and being followed as a normal practice in day to day life that too even our ancestors were doing.
The above article is some thing like that. When we want to make use of natural wood, when do you want to carry a stove? We can build a stove in just 3-5 seconds using stones available there or even we can dig a small pit and make use of it.
agulesin
Does it come with heat-proof gloves and a HS warning?
MtnClimber
Hey, I like the idea. I have cooked on a grate on rocks for years, but it scars the rocks, the wind can be an issue, and I have spilled my dinner in the fire too many times. The lighter one is even lighter than a grate. I\'m gonna check it out.
Loving It All
This is what I\'d call a 25% solution. What do you do in rain for dry wood? What do you do in parks that ban open fires? What do you do is deserts or other areas when burnable wood isn\'t readily accessible?
Not to mention that wood fires will coat all your cooking gear in soot, complicating clean-up.
I have settled on canister stoves. I use the MSR Pocket Rocket, a burner head which weighs just 3.5 ounces and has proven to be very durable and totally reliable.
windykites
This is being a bit precious about scarring the land with ashes. What about fires caused by lightning? Nature is not so delicate. Worry instead about the catastrophic damage caused natural gas extraction, with tens of thousands of wells all over America, polluting the ground water with fracking chemicals. Water from the taps becomes mixed with Methane and bursts into flame when ignited. Check the facts.
Jansen Estrup
\"Readily available in all wilderness areas\"? Not many deserts nor the frozen north, nor the sea. A lightweight solar cooker would work nicely in all regions with no fire danger. Additionally, if ship wrecked, it might easily be fashioned as a de-salinator for salt water.
One can be made easily with a few square feet of reflective rigid foam insulation, an acrylic \'cover\' and a small dutch oven or aluminum pan ... tape the sides and bottom together with duct tape. It weighs about 1-1/2 lbs and can carry other \'packables\' when not in use as a cooker.
Try it out for the homeless, too.
ADVENTUREMUFFIN
interesting, but you can make your own from plans at http://zenstoves.net/Wood.htm
Slowburn
re; windykites1
I have checked out the facts. There is not a single case of fraking causing problems improperly installed well casings yes. Fraking no. .............................................................................................................................
A small preferably titanium potbellied stove that chimney and legs double as a backpack frame could work.
Load More