Aircraft

Boeing lands patent for VTOL passenger plane

Boeing lands patent for VTOL passenger plane
The Boeing patent is for a VTOL tilt rotor capable of carrying up to 100 passengers
The Boeing patent is for a VTOL tilt rotor capable of carrying up to 100 passengers
View 6 Images
The Boeing patent is for a VTOL tilt rotor capable of carrying up to 100 passengers
1/6
The Boeing patent is for a VTOL tilt rotor capable of carrying up to 100 passengers
Boeing tilt rotor in horizontal mode
2/6
Boeing tilt rotor in horizontal mode
Forward view of the Boeing passenger tilt rotor in hover mode
3/6
Forward view of the Boeing passenger tilt rotor in hover mode
The Boeing passenger tilt rotor has wing-mounted engines
4/6
The Boeing passenger tilt rotor has wing-mounted engines
One configuration of the Boeing passenger tilt rotor's gearbox
5/6
One configuration of the Boeing passenger tilt rotor's gearbox
Conventional tilt-rotors, such as the V-22 Osprey are not practical for civilian passenger use
6/6
Conventional tilt-rotors, such as the V-22 Osprey are not practical for civilian passenger use
View gallery - 6 images

If you're one of the millions of air travelers who must drive by half a dozen perfectly good small airfields to get to a passenger airport, there may be hope yet. Boeing has been awarded a patent for a tilt rotor Vertical TakeOff and Landing (VTOL) aircraft capable of carrying up to 100 passengers. By combining vertical lift and hover capacity of a helicopter with the speed and range of a conventional airplane, it could one day turn small airports into passenger hubs.

Boeing has had considerable experience with military VTOL aircraft, like the V-22 Osprey and its derivatives, but current tilt-rotor aircraft aren't suitable for civilian use and the few attempts, including the AugustWestland BA609, can only handle six to nine passengers. Part of the problem is the military tilt rotors include many features that make them impractical for civilian use.

A quick glance at the V-22 shows where these problems lie. The Osprey and similar aircraft have a high-wing configuration that requires the aircraft to have a heavier construction with extra reinforcements to not only support the engines, but to protect the fuselage from being crushed in the event of a crash.

Conventional tilt-rotors, such as the V-22 Osprey are not practical for civilian passenger use
Conventional tilt-rotors, such as the V-22 Osprey are not practical for civilian passenger use

This configuration also makes maintenance and fueling more difficult, and it has safety issues because the plane cannot float in the event of a water landing. In addition, the undercarriage must be installed in the fuselage because the wings are too high for the wheels, and the wings can't be used to store fuel because of the danger of leakage into the fuselage and cabin. And then there's the problem of airports being built for low-winged craft, so taxiing, loading, and unloading aren't easy.

Another problem is the engine mounting. Most tilt rotors have two engines – one in each wingtip nacelle right behind the rotors. These may be combined to share the lifting load through a drive shaft, but for safety reasons, each engine must be 50 percent larger than needed in case the other engine fails. If the engines aren't interconnected, they need to be even larger. This means the need for even stronger wing supports with heavier reinforcements to hold the larger engines.

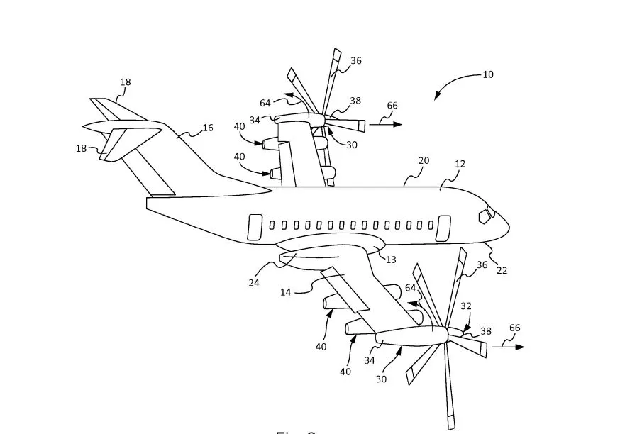
According to the patent, Boeing is looking at something more along the lines of a 100 passenger regional aircraft. In the description, the Boeing passenger tilt rotor has low wings set toward the bottom of the fuselage as in a conventional airplane, doesn't need special crash reinforcement, and can float in a water landing. In addition, it can carry fuel in wing tanks, can operate from conventional airfields, and can be equipped with mid-cabin exits without elaborate slides.

Forward view of the Boeing passenger tilt rotor in hover mode
Forward view of the Boeing passenger tilt rotor in hover mode

One way in which Boeing aims to achieve this is by moving the engines away from the rotor nacelles at the tips of the wings to the middle of the wing. This way, each rotor can be powered by two or more engines through a common gearbox in various configurations. This means the individual engines can be less powerful and more compact, yet in combination can provide the necessary power for flight even is one should fail.

In addition, the engines are fixed, which simplifies many of the systems and the weight of the wings, as well as improving ground clearance and payload capacity. Also, the wings can be configured so that their power trains are completely independent of one another.

Since this is just a patent, there's no indication that this aircraft or any variant is slated for production, but if it were, it could act as a regional passenger aircraft capable of operating from small airfields, city airports that normally couldn't handle such a large passenger craft, and even remote heliports.

Source: US Patent Office

View gallery - 6 images
13 comments
13 comments
Digitalclips
Well this is great news if we can start to dismantle the horrible hub system now used by airlines.
toyhouse
I wonder what the noise footprint of something like this will be - especially during transition to and from hover mode? If it's loud, (and looks like it might be), and one of the ideas is to bring passengers closer to their destinations, it may not be all that welcome for those who work or live nearby. Just thinking out loud.
Tom Lee Mullins
I think that is really neat. I think it will open up smaller airports to airlines and small shuttle companies. Perhaps it could be used to take more to places with only room enough for a large helicopter.
pete2100
Surely the large rotors are electrically driven to cut down the huge weight of the mechanical drive system. I note the jet engines don't have fans - thus they are turboshafts. Jet engines now need to provide significant electrical power to aircraft - their conversion to turboshafts solely providing electric power is a logical development. Perhaps we are seeing the rise of electric powered fans for short hall thrust with power provided by compact turbo-shaft engines.
As long as the each rotor has sufficient capacity in an emergency loss of one rotor, an electric motor is primarily limited by increased self heating in providing extra power, which in an emergency is likely limited to seconds at full power rather than minutes.
JemThomas
Perhaps if the UK Government were to invest in this solution rather than 20 bn in the Heathrow expansion it would mean the London area could utilise the many runways it has at its disposal. There is not a lack of Runways in any major metro area just the infrastructure to join them up and the aircraft to utilise them. A A318 uses very nearly the same slot time as an A380, so take that traffic out of the equation and a lot of slots are released, no need for a third runway. Plus Northholt could now make sense as a sub-hub as it is only 5 miles away as the crow flies (or the tube tunnel goes). I could go on but I am sure you get the picture.
riczero-b
Looks problematic ; to give the lift, you need a big rotor, which means a big wingspan, which means thick heavy wings blocking the downflow. So would need novel materials. Probably just a speculative patent claim stake.
FranzHofer
What will happen to the engines in horizontal flight, when the rotor blades go passed their intakes?
sidmehta
Why did they wait decades to design a passenger VTOL aircraft? Tremendous use and need for it. For example multiple aircraft can take off from different points at the airport if they are heading in different directions. Should end airport congestion. Would make thousands more airports usable. Would... the list of benefits is long.
KeithPhillips
To many moving parts in my opinion. Only person I would put on this thing is the mother in law!!
Stephen N Russell
Reuse 737, 767, 757, 777 airframes, , awesome.
Load More