Good Thinking

Disney patents augmented reality cakes

Disney patents augmented reality cakes
The patent outlines plans for augmented reality cakes and other food products that would display interactive movies and images onto edible treats
The patent outlines plans for augmented reality cakes and other food products that would display interactive movies and images onto edible treats
View 6 Images
The patent describes playing a montage of photos or video clips like an edible picture frame
1/6
The patent describes playing a montage of photos or video clips like an edible picture frame
The patent outlines plans for augmented reality cakes and other food products that would display interactive movies and images onto edible treats
2/6
The patent outlines plans for augmented reality cakes and other food products that would display interactive movies and images onto edible treats
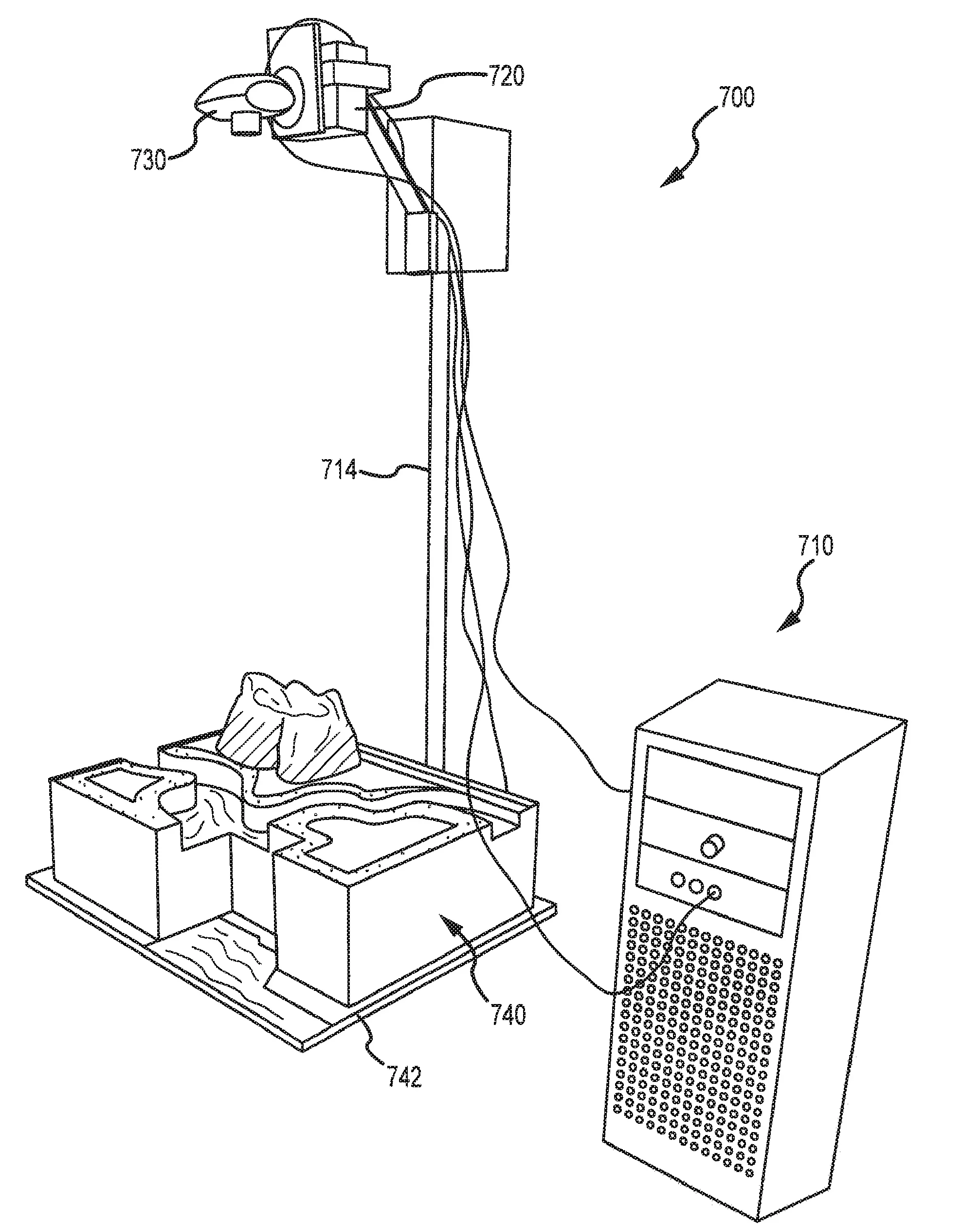
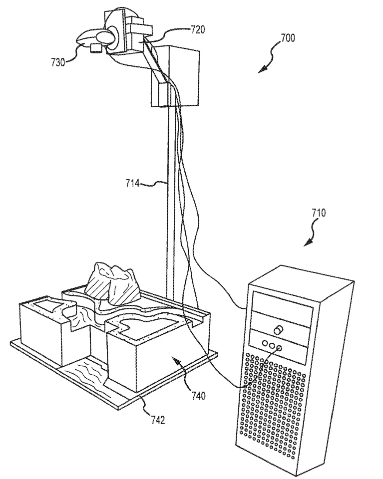
For a more elaborate AR experience though, Disney's patent details plans for connecting a computer to an overhead projector outfitted with depth sensors and motion trackers
3/6
For a more elaborate AR experience though, Disney's patent details plans for connecting a computer to an overhead projector outfitted with depth sensors and motion trackers
Among the many concepts specifically mentioned are turning a cake surface into a digital coloring book, using remote controlled figurines to advance a story, and even shining a flashlight onto a scene to reveal ghosts and other hidden objects
4/6
Among the many concepts specifically mentioned are turning a cake surface into a digital coloring book, using remote controlled figurines to advance a story, and even shining a flashlight onto a scene to reveal ghosts and other hidden objects
What Disney's patent lays out in spades though are ideas for interacting with an AR dessert
5/6
What Disney's patent lays out in spades though are ideas for interacting with an AR dessert
The patent explains that an entire digital world could be mapped out over the surface of a cake
6/6
The patent explains that an entire digital world could be mapped out over the surface of a cake
View gallery - 6 images

We've seen some creative uses of augmented reality show up in almost everything, from sandboxes to shopping aisles, but now it looks like we may soon see AR technology implemented in the unlikeliest of places: our food. A recent patent from Disney outlines plans for augmented reality cakes and other food products that would display interactive movies and images on edible treats. Using a projector and some motion sensors, a simple birthday could be transformed into anything from a customized storybook to a fully interactive fantasy world.

Most of the patent's ideas seem conceptual for now, though it does outline two main methods for projecting an image onto a cake. The simplest involves a small projector built into a cake topper that can store and display digital images onto a flat cake's surface. The patent describes playing a montage of photos or video clips like an edible picture frame, but also suggests adding sensors for tracking movement to interact with the projection. That way, a person could flip through a virtual storybook laid out on the cake or wave an accompanying wand that would make flowers or fairy dust appear.

For a more elaborate AR experience though, Disney's patent details plans for connecting a computer to an overhead projector outfitted with depth sensors and motion trackers. It may require more equipment, but the additional sensors mean interactive elements can be added to cakes that don't have a flat surface. The patent explains that an entire digital world could be mapped out over the surface of a cake, complete with snow-capped mountains, flowing waterfalls, and misty graveyards, amongst many other things. Anyone would be able to manipulate the world by changing the landscape or using certain props to trigger scripted events (for example, place a tree onto a field and then watch a forest sprout up). The trackers could even detect when a piece is removed and have digital water flow into the missing space.

For a more elaborate AR experience though, Disney's patent details plans for connecting a computer to an overhead projector outfitted with depth sensors and motion trackers
For a more elaborate AR experience though, Disney's patent details plans for connecting a computer to an overhead projector outfitted with depth sensors and motion trackers

What Disney's patent lays out in spades though are ideas for interacting with an AR dessert. Among the many concepts specifically mentioned are turning a cake surface into a digital coloring book, using remote controlled figurines to advance a story, and even shining a flashlight onto a scene to reveal ghosts and other hidden objects. The patent mostly describes concepts involving cakes but notes that the technology could be applied to almost any food.

With Disney involved, it's not hard to imagine dozens of classic characters and stories being brought to life on a children's birthday cake. Unfortunately, the company has not made any public statements regarding this technology so there's no way of knowing when or it will reveal any of these AR cakes and in what scale. Given the size of the equipment required, the fully interactive cake seems like it might be best reserved for the Disney theme parks, but a cake topper with a built-in projector sounds like something that could easily find it's way onto toy store shelves. Either way though, it's looking like augmented reality food could start showing up at parties and other events that call for fanciful desserts in the near future.

Source: Google Patents

View gallery - 6 images
2 comments
2 comments
Charles Bosse
I'm still waiting for Disney to release their 3D waffle printer (a la Cory Doctorow). Admittedly, this would make an edible Disney Castle that much more yummy.
Erik Vos
IN 2010 people in Australia had a good idea: http://www.youtube.com/watch?feature=player_embedded&v=Zh4zunpgoNA#!