Automotive

Toyota patents cars that show their (and your) feelings

Toyota patents cars that show their (and your) feelings
View 9 Images
1/9
2/9
3/9
4/9
5/9
6/9
7/9
8/9
9/9
View gallery - 9 images

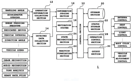
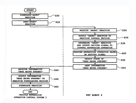
Toyota has been granted a patent for a system which enables a vehicle to recognise its surroundings, the actions of other road users and the emotional response of its driver and convey the driver's emotions to the public via a vehicle expression system on the exterior of the vehicle. The car's emotion expression system uses the cars headlights, the colour of the vehicle, a set of "eyebrows" over the cars headlights, external LED displays and the height of the vehicle and the antennae to inform other users.

In recent years Toyota has shown some remarkable innovation in car design which recognizes and displays the driver's emotions, notably the Personal Mobility Concept and the POD.

The POD made its world debut at the 2001 Tokyo Motor Show and was also shown at the 2002 Chicago Auto Show and appears to have been the first incarnation of the emotion recognition and display system which has been patented. Developed in collaboration with Sony Corporation, the "Personalization On Demand" (POD) concept was described by Toyota at the time as a "near-future, IT-centred vehicle that explores the potential for communications between vehicles and their drivers."

The press release of the day read as follows: The POD's feelings and moods are externally reflected through different configurations of its eyes (headlamps), eyebrows, mouth (grille) and ears (side mirrors), coordinated with light-emitting diodes (LEDs) which illuminate as appropriate. The POD can express up to ten different emotions including happiness, surprise and sadness, using LED colours and a combination of eyes and eyebrows. The rear of the vehicle has a tail-like antenna on the trunk that can also wag to complement the respective emotion.

"The POD defies the axiom that vehicle control is a one-way street," said Don Esmond, Toyota Division senior vice president and general manager. "POD was developed to explore and strengthen the bond between car and driver through a give-and-take relationship. Much like forming a friendship, the POD listens to the driver, monitors his driving habits, and records a wide variety of his personal preferences. By expanding its intelligence, POD can create an enhanced driving experience."

Occupants of the vehicle can see the POD's emotional state via a main display for the driver and four individual displays. The main display is how the POD tells the driver exactly what it's thinking and provides constructive criticism to help the driver improve their skills. If the driver is driving smoothly and safely, clapping hands are displayed for praise. Reckless driving results in a surprised or fearful expression on the display.

The POD can also gather information from its external surroundings and communicate with people and other cars. Using an application called Dedicated Short Range Communication (DSRC), the POD can detect pedestrians ahead and caution the driver to slow down. The POD can "talk" to other vehicles equipped with a horn signal exchange system. Three types of horn signals -- "warning," "thank you" and "please give way" -- can be transmitted when a horn button on the main display is pressed. When horn signals are received from other cars equipped with the same technology, the message is relayed through the driver's side speaker.

Over time, the POD learns the driver's tastes, personality and driving skill level. A portable terminal called a "mini pod" serves as the vehicle's intelligence center and plays a vital role in the growth of the vehicle. The mini pod, like a personal digital assistant (PDA), can be synced with a home or office computer and can store passenger preferences for television, music and shopping found through Internet searches. For practicality purposes, the mini pod also serves as a remote keyless entry and ignition starter.

Instead of a conventional shifter, the vehicle is equipped with a driving controller similar to a joystick that is mounted to the right of the instrument panel. Using drive-by-wire technology, this controller combines all steering, acceleration and braking functions so that no foot pedals are required. Using just one hand for all controls, driving is simplified and the driver's reaction time is quicker.

Driver and passenger comfort is a priority with the POD. Through sensors on the controller, the POD can monitor the driver's pulse and perspiration levels. The POD can sense if the driver is in a hurry from the degree of acceleration, distance from the car ahead and increased pulse and perspiration. The POD will try to relax the driver by displaying warnings, playing relaxing music and blowing cool air. The POD can also sense the air quality of the cabin and automatically open the windows to let in fresh air. It will even stiffen or soften the suspension to suit the road conditions and the driver's skill level.

The POD acronym also suggests that occupants are housed in a safe and comfortable environment. The seats can be arranged by passengers in various ways. When the POD welcomes approaching passengers, it positions the seats so that occupants can easily enter and be seated. When parked, all seats can be turned inwards to create a cozy environment for conversation or games.

So that passengers can individualize their entertainment preferences, each seat has its own display monitor. Games can be played individually or with other passengers. Sound is produced by a full-range speaker and tweeter installed in each headrest. Vibration transducers built into the seat cushions and seat backs combine with subwoofers under the seats to create a rich bass sound experience.

Clearly, Toyota is blurring the boundaries between the automobile being a tool and a friend. The system described in the patent application is almost identical to that described for the POD, and is designed to detect the feelings of the driver from his driving manner (changes from normal hurriedness/speed, throttle and brake pressure as well as monitoring the driver's pulse and degree of perspiration).

It's an interesting insight into how Toyota sees the future, and it'll be interesting to see whether public displays of emotion showing anger or hurriedness lead to a better road environment and more or less incidence of road rage.

One of the most interesting disclosures in Toyota's patent application (well worth a read if you have plenty of time) is that cars of the near future will have the capability to change colours.

View gallery - 9 images
No comments
0 comments
There are no comments. Be the first!