Good Thinking

High-tech handcuffs can shock, inject prisoners

High-tech handcuffs can shock, inject prisoners
Scottsdale Inventions' shocking handcuffs
Scottsdale Inventions' shocking handcuffs
View 8 Images
Scottsdale Inventions' shocking handcuffs
1/8
Scottsdale Inventions' shocking handcuffs
Schematic view of the shock cuffs
2/8
Schematic view of the shock cuffs
Schematic side view of the shock cuffs
3/8
Schematic side view of the shock cuffs
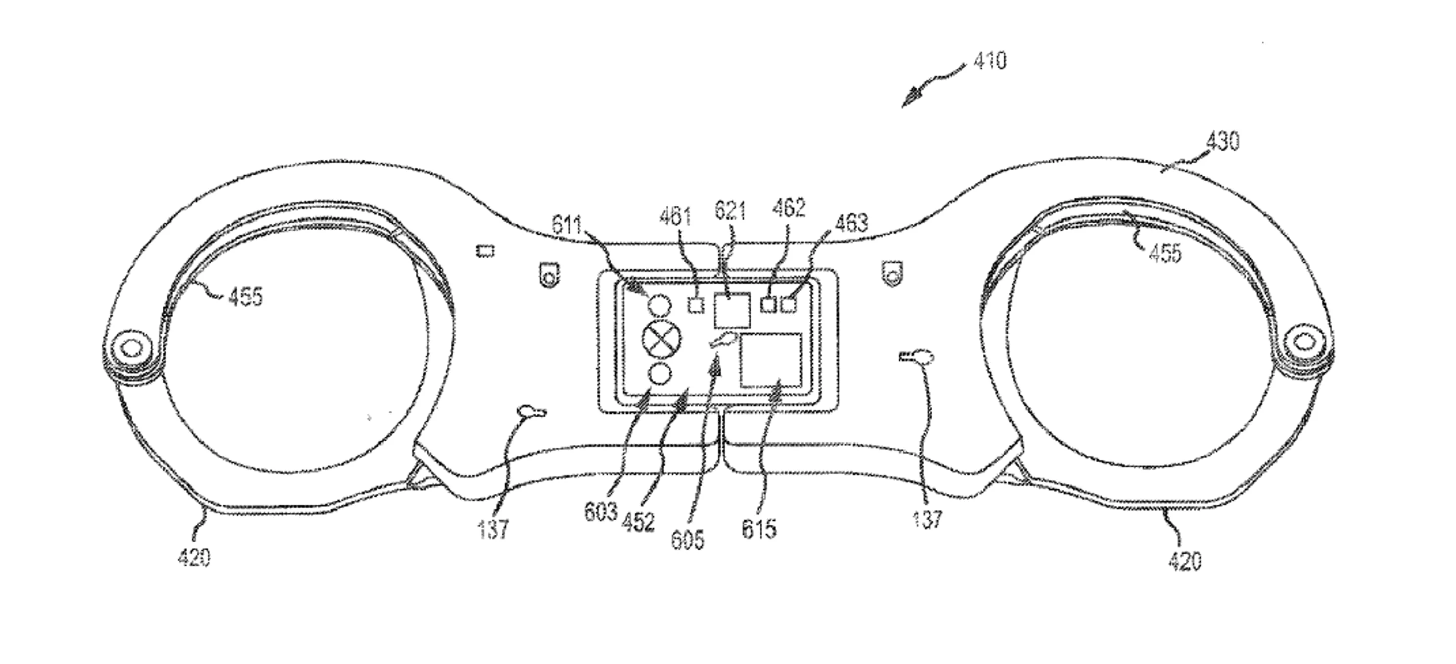
Exclusion zone option for the shock cuffs
4/8
Exclusion zone option for the shock cuffs
Exclusion zone option for the shock cuffs
5/8
Exclusion zone option for the shock cuffs
Exclusion zone option for the shock cuffs
6/8
Exclusion zone option for the shock cuffs
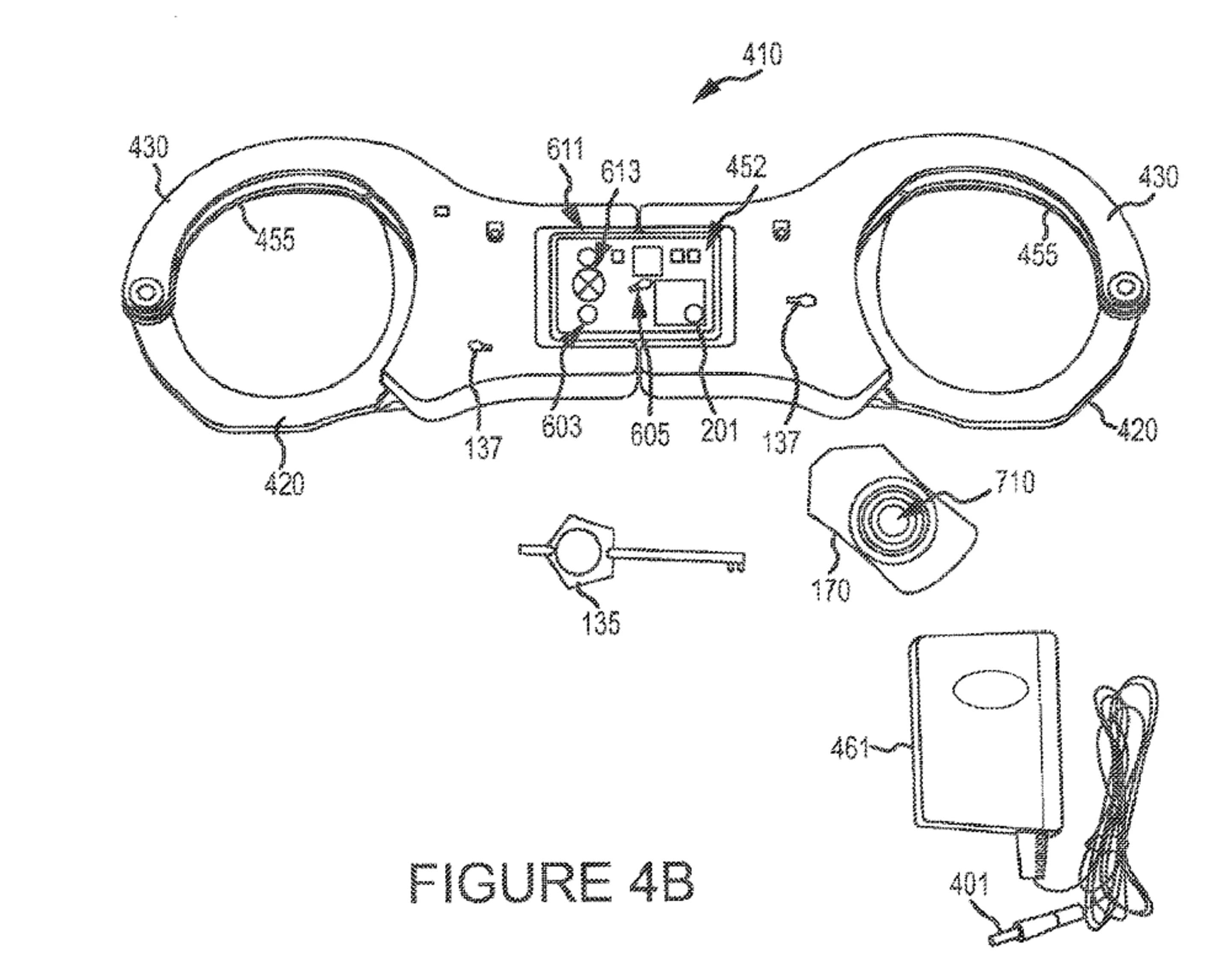
Shock cuffs and accessories
7/8
Shock cuffs and accessories
Block diagram of shock cuff systems
8/8
Block diagram of shock cuff systems
View gallery - 8 images

Today, handcuffs are just steel restraints. Tomorrow, however, they could be much more. According to U.S. Patent Application 20120298119, Scottsdale Inventions, LLC of Paradise Valley, Arizona has invented a pair of high-tech handcuffs that could deliver electric shocks to prisoners by means of an incorporated Taser-like system hooked to wireless controls and sophisticated sensors.

In some ways, the Scottsdale cuffs are like a combination of invisible fences and training collars used for dogs. Where the canine versions provide a mild joy buzzer of a shock, however, the cuffs could immobilize a prisoner. They're based on the principle of the Taser, which uses electrodes to administer high-voltage, low amperage shocks to disrupt a person’s voluntary nervous system. In this case, the system is part of a pair of handcuffs, though the company says that it could also be used in an ankle cuff, restraining belt, straitjacket, harness, facial restraint, helmet or neck collar.

Shock cuffs and accessories
Shock cuffs and accessories

The Scottsdale cuffs are more than just a shocking device. They are part of a system for exercising an almost frightening degree of control over single or multiple prisoners. The cuffs could not only shock, but also deliver warnings if the prisoner fails to follow instructions. These warnings might be an audible signal, a vibration, a flashing light or a mild electric shock as a prelude to a more severe jolt if not obeyed.

The cuffs are also programmable. They could be set to respond to radio transmitters so that prisoners must remain in a certain areas, avoid other areas or only move in a prescribed zone. They could also be triggered by RFID tags attached to weapons, vehicles or other items detainees aren't allowed near.

Exclusion zone option for the shock cuffs
Exclusion zone option for the shock cuffs

In addition to radio proximity sensors, the cuffs could include an accelerometer, inclinometer, potentiometer, location sensing device, microphone, camera, a biometric sensor or a combination of devices. These could not only allow guards to keep track of prisoners, but also allow the cuffs to automatically deliver a shock if they detect violent or aggressive movements or even if the detainee shouts.

Aside from their deterrent functions, the Scottsdale cuffs could also keep track of prisoner movements, behavior and number of shocks administered, plus they include safety cutouts to prevent administration of an injurious or fatal jolt. In a truly Orwellian twist, the cuffs could also release gases, liquids, dyes and even inject the prisoner with sedative drugs.

Source: PatentBuddy via Patent Bolt

View gallery - 8 images
35 comments
35 comments
Tom Arr
Might as well be a shock collar.
Joel Detrow
This is seriously scary.
hourglass
am i the only one who finds all such efforts at enhansing the tools of authoritarianism and tyranny disturbing?
Tim Lawton
hourglass: yep, the rest of us are fine with this.
promet
This is bad. This is bad and wrong...
SAND MAN
Although this seems like a scary device it must be remembered that it is only a concept and will probably stay at this stage. There are thousands of dangerous, inhumane and plain stupid patents out there.
sascha.kremers
Amnesty International will be delighted. Not.
http://www.amnesty.org/en/library/asset/AMR51/048/1996/en/184256f4-eaf9-11dd-aad1-ed57e7e5470b/amr510481996en.html
j-stroy
What happens if there is a power outage at the transmitter.... Also facial restraint with electro shock?!? I find this story's content obscene.
Sorry Gizmag a very poor choice of a story and content. I come to be inspired by design, not sickened.
Anne Ominous
This is a very BAD idea.
"Taser"-type shocks were intended to be a LESS LETHAL (not "safe") means of restraint. They are only supposed to be used when the only other option is deadly force (e.g., shooting the suspect). Putting such a thing in handcuffs defeats the whole purpose, and it becomes instead nothing but a torture device.
According to Amnesty International, which regards tasers today largely as instruments of abuse, tasers are responsible for at least 10,000 deaths worldwide.
And as for "injecting" the prisoner? Illegal as hell. At least in the U.S.
Todd Dunning
If Amnesty International hates it, you can guarantee it is an excellent security product to contain violent prisoners.
Hopefully they can be used on the street soon to increase law enforcement's safety and subdue violent offenders faster and easier.
Load More