Intake, compression, power, then exhaust. Every 4-stroke engine ever made – about 80% of all engines currently in existence – function on this principle – even rotary engines. But now, Porsche has filed a patent to make a 6-stroke engine.
The bottom line here is the introduction of two more strokes: Intake, compression, power, then compression, power, exhaust. Two power strokes and two compression strokes per cycle.
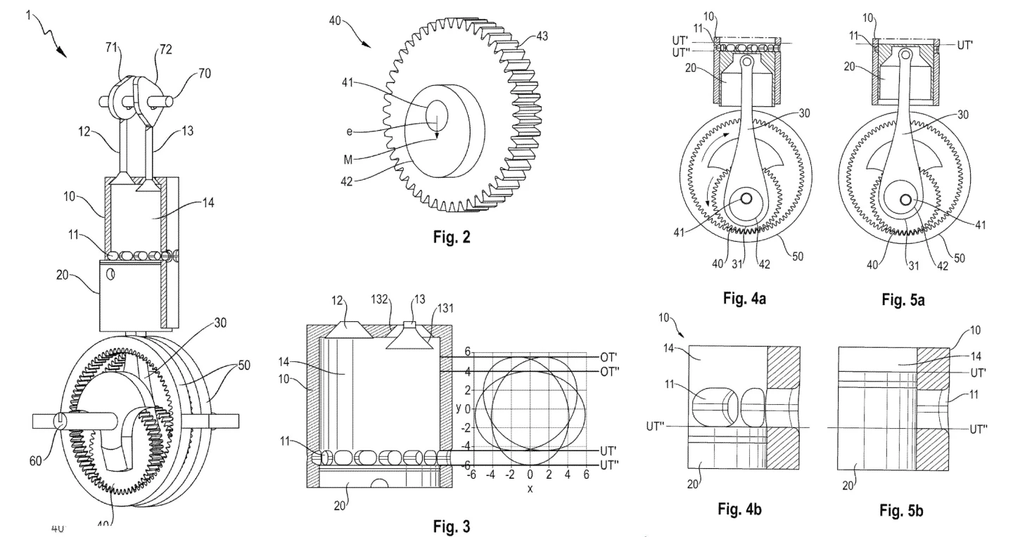
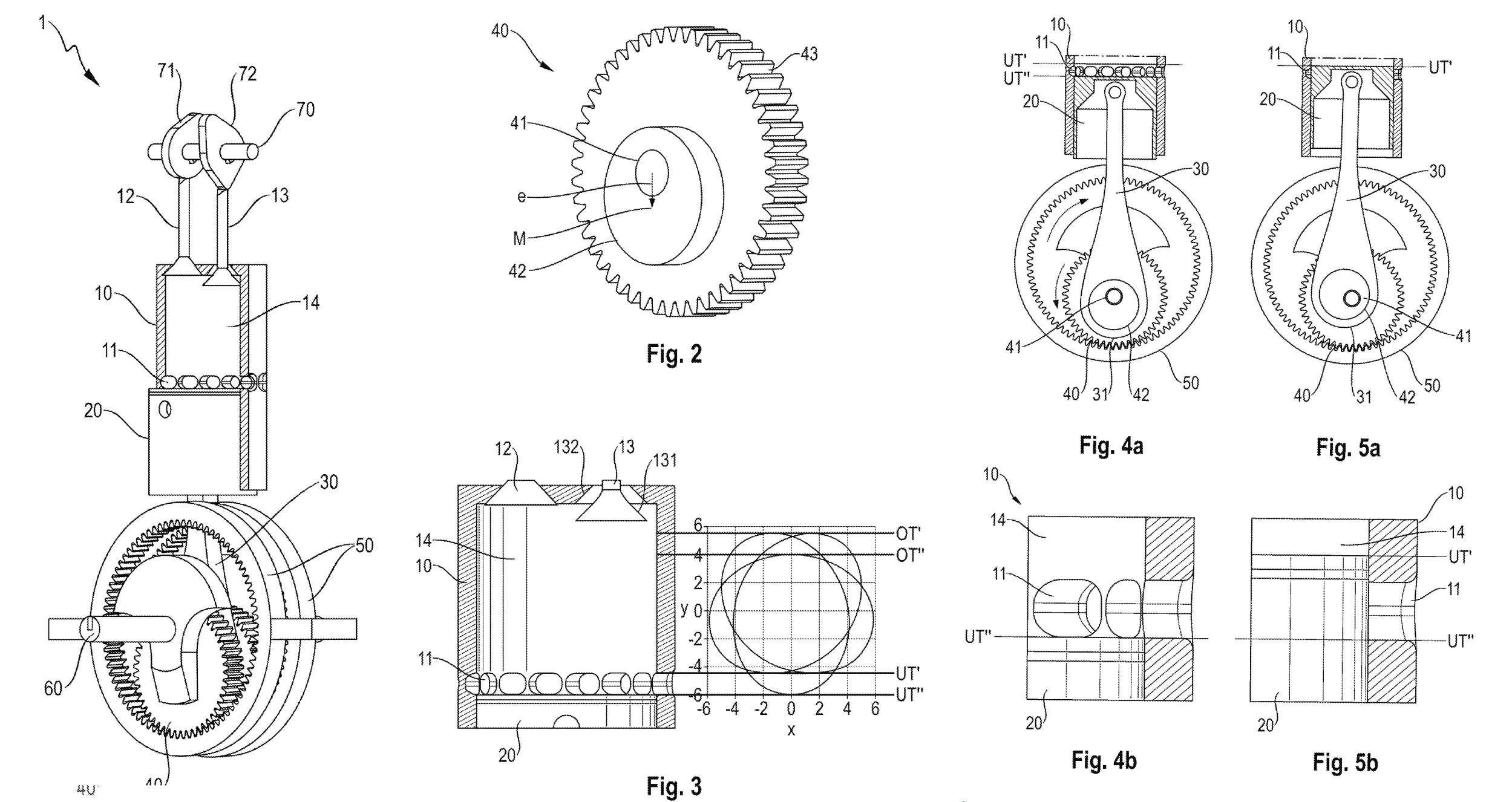
Generally, the biggest difference between a typical 4-stroke engine and the 6-stroke design is in the cam and valve timing. Porsche's design is vastly different than anything we've seen since Samuel Griffin's very first 6-stroke engine design in 1883.
Porsche's patent shows the crankshaft spinning within a ring on planetary gears, meaning as the crankshaft rotates, the pistons have two entirely different top-dead-center positions as well as two different bottom-dead-center positions. This also creates variable compression within the engine.

After reading through dozens of pages of the patent, which is mostly legalese, "method for combustion machine with two times three strokes" is how the system is titled. Adding an extra combustion and power stroke to each revolution of the crankshaft means more horsepower to the wheels – and could also mean a more efficient internal combustion engine.
Or – as can often be the case with patents – it could mean absolutely nothing other than Porsche simply doesn't want anyone else to have or develop this technology.
There's nothing in the patent describing how engineers deal with vibrations, harmonic balance, RPM ranges, or any of the juicier issues the idea might spark for those among us with a bit more black under our fingernails.
But it's worth noting that this isn't the first time a 6-stroke engine has been announced or designed. Previous iterations worked very much like a standard 4-stroke engine with intake, compression, combustion, exhaust first.
Ten years ago, Bruce Crower had the very first working 6-stroke diesel engine in the world. Crower's 6-stroke design added water injection as a 5th stroke, and the 6th being the steam flash exhausted from the motor. Check it out:
Another design, the Beare Head 6-stroke, replaces traditional valves with a second piston that functions as a valve while scavenging exhaust gases. It's debatable whether it's a true 6-stroke, or simply a 4-stroke with an alternate form of valving.
Here's yet another – a design that's very much like the Crower engine, but that uses the middle two strokes for water injection and steam expansion.
Overall, it appears as though 6-stroke engines end up being far more complex, but they could have the benefits of increased thermal efficiency (45-50% – far higher than that of a typical 4-stroke engine which make 30%, at the best) and reduced emissions. Similar to the benefits that enabled 4-strokes to overtake the ubiquitous 2-stroke across most of the world.
Of course, in a world rapidly shifting towards electric vehicles, a betting man might wager this new 6-stroke design goes nowhere.