Drones

IBM patent outlines mid-air drone-to-drone cargo transfers

IBM patent outlines mid-air drone-to-drone cargo transfers
IBM's patent details how packages could be transferred between drones in mid air
IBM's patent details how packages could be transferred between drones in mid air
View 2 Images
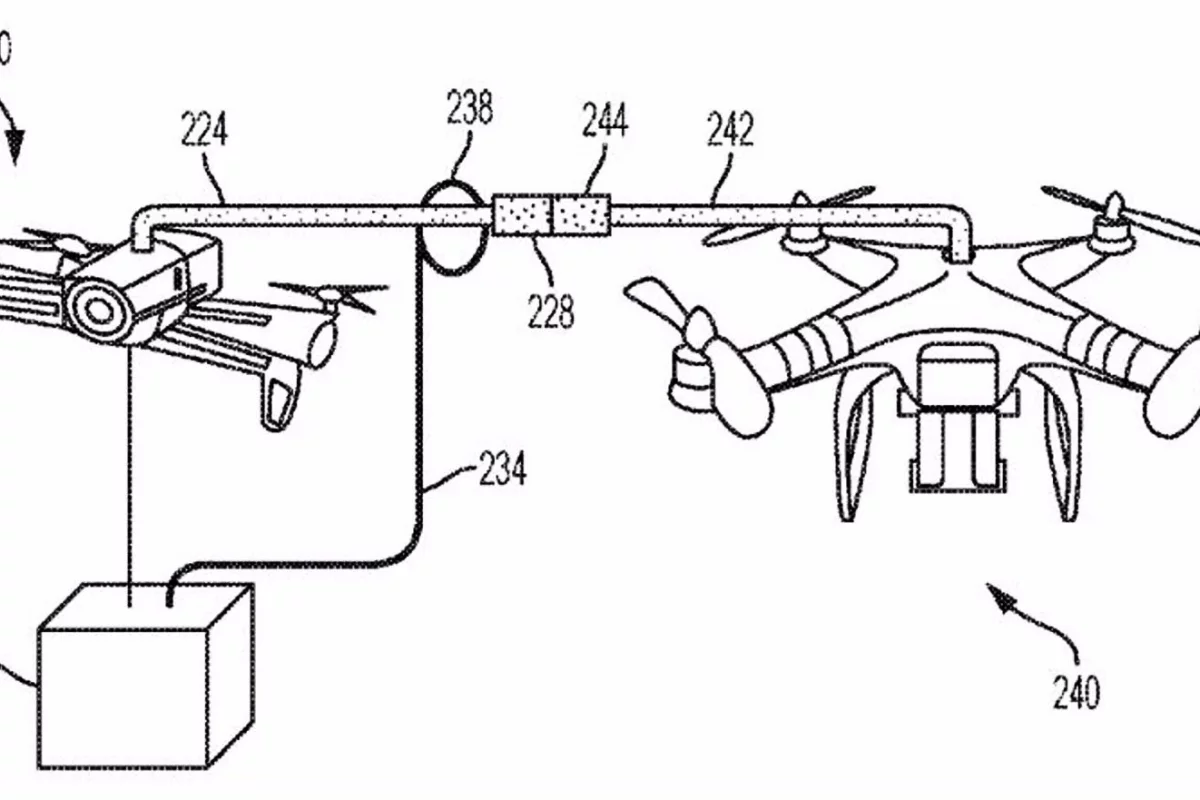
An alternative configuration to the arm drones
1/2
An alternative configuration to the arm drones
IBM's patent details how packages could be transferred between drones in mid air
2/2
IBM's patent details how packages could be transferred between drones in mid air

Drones seem destined to become the next big thing when it comes to delivering packages, but it's not all smooth flying, with problems such as limited flying times, the risk of theft, and overly complicated delivery networks just some of the hurdles that need to be overcome. To extend the range of delivery drones and help prevent packages from being pilfered, IBM has patented a new system that may one day allow unmanned vehicles to make mid-air hand-offs to one another in an autonomous aerial game of pass the parcel.

According to US Patent No. 9,561,852, IBM's idea involves getting the customer to meet the shipper halfway, though some intermediate shipper could also be used to help fill the gap. Essentially, the idea is to give drones greater range, make parcels harder to steal, and make shipping networks easier to manage by turning deliveries into a sort of aerial relay race.

An alternative configuration to the arm drones
An alternative configuration to the arm drones

The patent outlines a system where drones would have a movable guide plate on their bellies where the package would be held in place at the end of a retractable pole tipped with an electromagnetic coupling device. Meanwhile, on the topside there would be an arm on a pivot with a docking mechanism at the business end.

When an item is ordered, a warehouse would package and ship an item to the customer using a drone. Meanwhile, the customer would despatch their own drone to intercept the shipper's UAV in mid-air at some point in between the two locations, with both operating autonomously under the control of a cloud-linked computer system.

When the drones rendezvous, the shipper's drone lowers the package on its post, while both drones extend their top arms, which would magnetically connect and lock. On the shipper's drone, the package is connected by a tether to a ring that can move along the drones' connected arms. Once docked to the receiver drone, the two aircraft tilt in synchronization and the ring slides down the arm from the shipper drone's to the receiver's, taking the dangling package with it.

After the ring is secured on the recipient drone, the package is swung beneath the receiver drone, where its pole slides down to secure the package electromagnetically before it's drawn up and secured. The two drones then undock and return to their starting points.

"Drones have the potential to change the way businesses operate and by leveraging machine learning, drones could change ecommerce," says Sarbajit Rakshit, IBM Master Inventor and co-inventor on the patent. "Our inventor team is focused on improving how the most valuable cargo is delivered globally. This could create opportunities such as managing drones to deliver postal packages and medicine in developing countries via the most direct route."

Source: IBM

1 comments
1 comment
McDesign
Just yesterday we were discussing the possibility of in-flight refueling or battery-swap with a drone, with the goal being the first coast-to-coast autonomous flight.
Hmmmmmmmm . . .