Motorcycles

Yamaha set to launch hybrid production motorcycle for 2010

Yamaha set to launch hybrid production motorcycle for 2010
View 25 Images
1/25
2/25
3/25
4/25
5/25
6/25
7/25
8/25
9/25
10/25
11/25
12/25
13/25
14/25
15/25
16/25
17/25
18/25
19/25
20/25
21/25
22/25
23/25
24/25
25/25
View gallery - 25 images

Back in 2005, Yamaha showed the wacky 2005 Gen-Ryu hybrid concept bike at the Tokyo Motor Show amidst a raft of other very non-conventional two wheelers such as the aptly named FC-Me fuel cell bike, the ingenious Deinonychus elec tric reconfigurable motorcycle, the Chivicker, Passol and the Maxam two-wheeled limousine. Now it appears certain the bike will become a showroom model in 2010. A series of patent applications detail the new motorcycle which uses the YZF-R6 600cc engine to turn a generator which in turn powers the rear wheel. History shows that every Yamaha styling patent published over the last 20 years has resulted in a full production machine, so there's little doubt this one is also heading for a showroom near you in the very near future. You can expect to see it in the flesh for the first time at the Tokyo Motor Show later this year.

Proving that the idea of hybrids – machines that combine both petrol engines and electric motors – are soon to become a widespread idea, Yamaha's 2010 machine looks set to steal the thunder from rivals at Honda, which has also announced it will be offering a production hybrid next year.

While rumours and earlier prototypes all suggest that the Honda machine will be a resolutely practical scooter, hiding its glamorous technology under a conventional-looking skin, the new Yamaha takes its inspiration from the firm's show-stopping 2005 Gen-Ryu concept bike.

That bike, revealed at the Tokyo Motor Show four years ago, combined the inline four-cylinder engine from the firm's YZF-R6 with a massive generator and electric motor. Instead of using the engine to directly drive the rear wheel, its main use was to turn the generator, which in turn provided all the power the electric motor could need to give sportsbike-style performance using a direct drive to the rear wheel. Using electric power, there's no need for a clutch or gearbox, and their omission goes some way to offsetting the additional weight of the electric motor and generator.

The Japanese word Gen-Ryu literally translates to 'source of the river', and with all eyes turning to electric and hybrid power, it could be soon be a rushing torrent.

And this, the first Yamaha production hybrid, is the first sign of that. As usual when a concept is translated to reality, some of the original Gen-Ryu's key points have been toned down, both in technical terms and on the styling front, although there's no way the new machine could ever be termed 'conservative'.

The most notable loss is the 600cc, four-cylinder R6 engine, swapped instead for a much tamer, and significantly smaller, single-cylinder design, probably in the region of 250cc. But don't be disheartened – the bike's peak power depends not on the petrol engine but the electric motor and batteries, so while the engine might be small that doesn't mean the bike's performance will be disappointing.

Just like the original Gen-Ryu concept, the new production machine's styling is dominated by a pair of dinner plate-sized circular covers, one on either side of the bike, carrying a turbine-like design which looks set to become a key styling feature for all Yamaha's hybrid machines. These are more than mere styling fancies, however, as they house the key ingredients of the new machine.

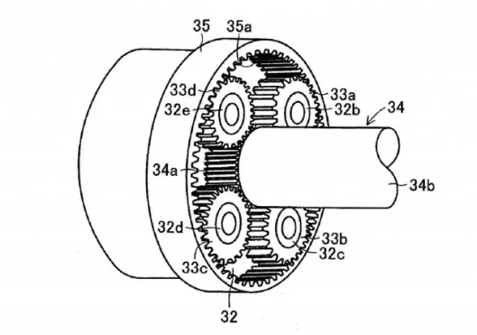
The right hand cover hides the massive generator which turns the petrol engine's power into electricity, while the left hand unit comprises a similarly large electric motor. Both are attached to the ends of a two-piece shaft that runs transversely behind the crankshaft, at the centre of which lies the bike's biggest secret, a planetary gear unit that attaches the four main components – the petrol engine, electric motor, generator and drive chain to the rear wheel – to give almost unlimited flexibility in the way the bike transmits its power to the road.

Here's how it works:the bike uses a complex array of ring gear, planetary gears and a sun gear to combine the two power units. The Ring gear is connected to the electric motor via a clutch and permanently attached via a chain to reduction gears and the rear wheel. The four Planetary gears are mounted on a disc driven by the petrol engine and the Sun gear is connected directly to the generator.

Ring gear stationary = bike stationary

When the electric motor isn't running but the petrol engine is, the planetary gears can transmit all its power to the generator to charge the batteries. If the batteries are fully charged, the petrol engine will stop. The bike pulls away using electric power only, with the petrol engine cutting-in when needed.

Ring gear turning = bike moving

The ring gear, and hence the final drive, can be driven by just petrol engine via the planetary gears, with the electric motor disengaged. By varying the speed of the sun gear attached to the generator, the speed of the planetary gears is altered, with that the ring gear's output speed varies, giving a continuously variable transmission. The slower the sun gear goes, the faster the ring gear turns as a result of the planetary gears turning faster. At low speeds, more of the engine power is diverted to the generator, spinning the sun gear faster.

It can also operate just on electric motor,with the petrol engine stopped. This stops the planetary gear disc from turning, but the planetary gears allow the outer ring, and therefore the output sprocket, to spin.

On a closed throttle, or under braking, the electric motor becomes a second generator, regenerating power and sending it back to the battery pack.

Finally, it can operate with both electric motor and petrol engine running using a combination of the two modes above, giving maximum power, with the full output of both the petrol engine and the electric motor being transmitted to the output sprocket and the rear wheel.

It sounds complicated, but in fact it's a solution that gives complete flexibility, allowing virtually any combination of petrol and electric power to be used, with a very small transmission using a minimal number of components.

The final drive is achieved via a set of reduction gears mounted behind the engine, and finally by a twin chain drive, further reducing the speed of the rear wheel and multiplying the torque.

As you'd expect with a petrol engine, generator and electric motor to juggle, a vast amount of the bike's control is taken over by the on-board computer. To ride, the new machine promises to be a paragon of simplicity. Twist the throttle to go, grab the brake to stop. The computer will judge whether to use just electric, just petrol or a combination of the two – all the rider should know about it is that the amount of twist he applies to the throttle is turned into a linear increase in power.

Styling

The original Gen-Ryu's wild looks meant it avoided the 'will it or won't it' production speculation surrounding most concept bikes – onlookers simply assumed it was eye-candy to attract showgoers to the Yamaha stand at the 2005 Tokyo Motor Show. And predictably it's been toned down significantly to become a production-ready machine.

Gone is the single-sided, hub-centre-steered front suspension, replaced by conventional forks, while the greater excesses of the all-enveloping bodywork have been cut back – the production machine is shorter, taller and more conventional in appearance, although it's still nothing like a 'normal' bike.The original LED headlights are replaced by a conventional single lamp, hidden behind a steeply-sloping panel that replicates the shape of the original concept's unit. The rear lights are also recognisably derived from the Gen-Ryu concept.

While it's much more upright, the stand-alone windscreen – sitting on support brackets sprouting from the top yoke – is also mirrored in the Gen-Ryu concept, as are the long, wide footboards; with no need for any foot controls, the rider can put his feet anywhere along the boards.

Overall, the looks mightn't be beautiful, but despite the watering down for production the overall effect still manages to looks suitably futuristic without plumbing the depths of ugliness represented by Honda's DN-01, perhaps the new machine's closest rival.

As usual when a concept bike reaches production, most of the original Gen-Ryu gizmos have gone missing in the translation. The original “vehicle-vehicle distance warning system”, “cornering light system”, “noise cancelling system”, “voice navigation function” and the ubiquitous concept bike “rear view monitoring system” – all features of the Gen-Ryu show bike – are unsurprisingly absent on the production machine. After all, the concept version needed to be permanently plugged into the mains via an umbilical cord simply to demonstrate its wares on the show stand, and with electric power being used to provide the majority of the bike's performance, most of us would rather see those extra amps going to the rear wheel rather than powering-up superfluous gadgets.

What about the rest of the bike?

Yamaha's innovation doesn't stop at the new machine's powertrain – it's also developed an entirely new chassis concept that will make its hybrid layout fit virtually any style of bike.

Rather than relying on a conventional frame, the engine, transmission, swingarm and rear shock are all a single, stand-alone unit. The swingarm is bolted straight to the engine/transmission unit, with a horizontal rear shock underneath, with its ends attached to the bottom of the arm and the underside of the transmission.

The battery pack and the computer that operates the system is mounted on top of the transmission, and a a result, the entire powertrain, including the rear wheel, can simply be bolted to the bike.That means the rest of the machine is made up simply of a foreshortened front frame section, carrying the steering head, plus conventional forks and some plastic bodywork. The same hybrid transmission could, unchanged, be swapped into several different machines, with the separate front section dictating the chassis geometry and the plastics giving virtually any appearance.

When can I get one?

Yamaha's president, Takashi Kajikawa, said back in 2005 that the firm would have a hybrid bike in production by the end of the decade, so if the firm is true to its word, the new Gen-Ryu road bike will be launched within the next few months. Just as the original concept was first revealed at the Tokyo Motor Show, the production version's debut is likely to be at the same event – always used to showcase the very latest technology. That means you can expect an official announcement by October, with sales starting early in the new year.

Why go hybrid?

In the car world, hybrids are finally catching on after ten years being pioneered by Honda and Toyota. Now, most of the major firms either have a hybrid on sale or are planning to debut one soon. But on two wheels, the argument is slightly less convincing.

With a heavy car to lug about, the ability to use a small engine allied to battery power to give acceptable performance makes a lot of sense; there's no worry about being left stranded with a flat battery, as the petrol engine keeps it charged, and there's no need to plug in to the mains for hours between every run.

But bikes already use relatively small engines, with low emissions and frugal economy, so why add all the complexity of hybrid power?

The answer comes not so much because there's a desperate need for hybrids from an economy standpoint but from the realisation that the layout offers unprecedented flexibility – with the electric motor being used more as an addition to the bike's performance potential than as a way of improving economy. In terms of the new Yamaha, it should offer performance and practicality of a relatively big bike – say a 600cc-class commuter machine – but with an engine only a fraction of that size. Just as the original Gen-Ryu concept promised to beat 1000cc performance from a 600cc engine, the new bike will be able to match machines of twice it's capacity. Given the relatively few moving parts involved in the electric drive mechanism, it's in many ways a simpler way to achieve performance than by adding the complexity of extra cylinders, more valves, more camshafts.

Secondly, the flexibility shows in the simplicity of use. In a world where people increasingly expect to be able to “plug and play”, riding a normal motorcycle is a frighteningly complex proposition – separate front and rear brakes, foot-operated gears, hand controls that require you to perform multiple functions simultaneously. It might all come naturally once you've been riding for a while, but with Yamaha, along with the rest of the world's bike makers, has noticed that an ever-decreasing number of people are prepared to learn to do all that. Bikers are getting old, and they need to appeal to a new generation. With no gears, no clutch, simple braking and the ability to give a computer far more control over the way the bike responds to throttle inputs than is possible on any combustion-engined machine, electric or hybrid power promises to be the solution. Add in the marketing advantages conferred by a hybrid's extra green credentials, and it becomes a no-brainer.

The possibilities offered by giving the computer more control over the eventual torque and power reaching the rear wheel are virtually endless. Want traction control? It's a few lines of programming code away. The same can just as easily apply to altering performance maps, changing the balance between fuel consumption and acceleration.

Even tuning becomes a much simpler job. Forget polishing your intake ports or balancing your crankshaft, just plug in a more effective battery or a bigger electric motor. Owners of Toyota's Prius hybrid have been doing it for years, with a thriving aftermarket industry growing around them to supply parts that will boost performance and economy.

Take the thinking to extremes, and there's little reason you couldn't even have a bike that will wheelie on command while protecting you from any chance of flipping. Die-hard riders will moan, but it's technology that, once tried, could soon become addictive.

Ben Purvis

View gallery - 25 images
1 comments
1 comment
matthew.rings
It's unfortunate that they chose the name "FC-me" for their fuel-cell bike... that's a loaded pronunciation, to say the least.
Other than that... love the concept of a hybrid bike. Radical, progressive, and it will be seen if it is accepted by the biker community, or opens up biking to a new genre of riders.