In today’s edition of What the Heck, we have the strange case of Ford wanting to put what is essentially a fake manual shifter in its electric vehicles. The company has applied for a patent that aims to bring back a traditional element of driving – the feel of shifting gears.
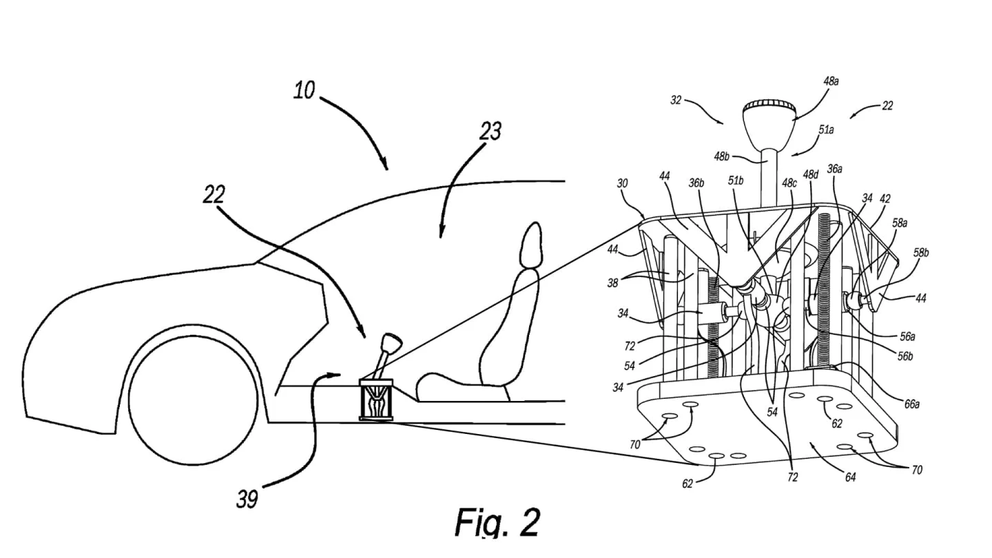
The Ford patent application titled Shifter Assembly For Electric Vehicle, was published on March 20 under number 2025/0092947 with the US Patent Office. It depicts a conventional gear stick installed in a box. But the question is why?
Ford’s design is entirely electronic and is meant to mimic the feel of changing gears in ICE vehicles. But there’s more to it than that.

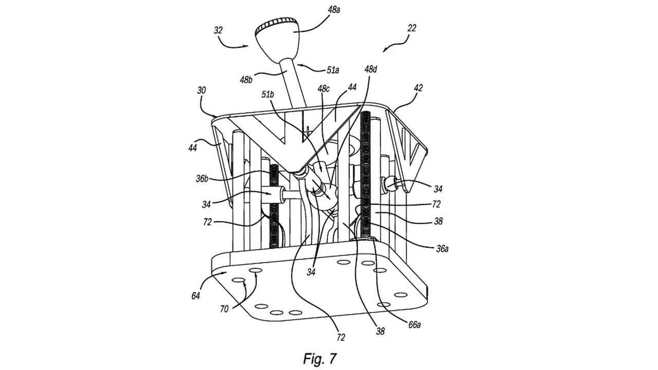
The patent application demonstrates a gear lever that replicates different manual transmission patterns, such as a sequential up/down track or a six-speed H-pattern. There's a "virtual pathway" in the patent application, which suggests these configurations could be dynamically altered through software rather than being physically locked in.
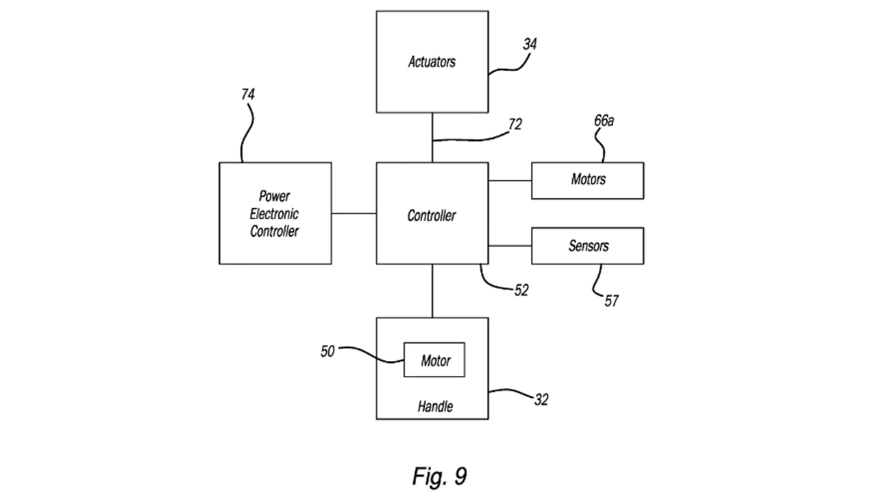
In a typical ICE car, the gear stick would be installed on the transmission tunnel and linked to a manual transmission by mechanical linkages. Here, it only links to a number of actuators that are controlled by an electronic power controller while sitting on an elevated portion of the floor.
The patent application states that this function "manages the flow of electrical energy delivered by the battery pack, controlling the speed of the motors and the torque each motor produces." But if Ford's system would let you electronically change the shift pattern, it might help enable six-speed or even seven-speed configuration customization. Interesting!
Ford also intends to make use of haptic feedback to replicate the physical sense of shifting gears, to further enhance your experience. This might replicate the sensation of several types of shifters, ranging from a smoother cable system to a more conventional rod mechanism.

This device might provide programmable resistance, gear engagement feel, and even buzziness – all of which could be adjusted via the vehicle's infotainment system, much like how Apple's MacBook touchpad mimics clicks.
Ford states that battery-electric vehicles (BEVs), plug-in hybrids (PHEVs), conventional hybrids, and even fuel-cell vehicles could all potentially be equipped with this system. This implies that regardless of the propulsion type, the technology is meant to be versatile enough to accommodate the rare drivers who still prefer a manual-style driving experience.
And while all of this sounds like an April Fool's day joke, simulated manual transmissions for electric vehicles are not exactly a new idea. Toyota was onto a similar concept in 2022, by creating a clutch-pedal-equipped simulated manual transmission that mimicked traditional gear shifting by varying torque delivery. Hyundai did something similar with the Ioniq 5 N too, which features simulated paddle shifters that generate an ICE-car-like feel.
EVs accelerate instantly when the pedal is pressed down firmly. For instance, the Ford Mustang Mach-E goes from 0 to 60 mph (97 km/h) in just 3.3 seconds, which is faster than most ICE sports cars, even the famed Porsche 911.

But what EVs aren't great at is being engaging. They're quiet and the power remains almost consistent once they reach higher speeds, which makes long journeys boring. It is this very problem that Ford is looking to solve with its fake manual system, at least in my eyes.
At the moment, Ford currently sells two EVs: the F-150 Lightning and the Mustang Mach-E. It's unclear if this technology will ever be put into production, but if it does, it will undoubtedly give EV-driving some much-needed spunk.
As much as I hate to admit it, when the day finally comes that internal combustion engines go extinct, I would rather have the pseudo feel of shifting my gears than not. After all, we ought to be able to show our kids how we used to drive back in the day.
Source: Free Patents Online