Aircraft

Zee.Aero's flying car concept would fit in a standard parking space

Zee.Aero's flying car concept would fit in a standard parking space
Artists drawing of the Zee.Aero concept for a vertical take-off-and-landing (VTOL) flying car
Artists drawing of the Zee.Aero concept for a vertical take-off-and-landing (VTOL) flying car
View 8 Images
1/8
Overhead view showing the arrangement of the eight lifting engines and propellers while the two rear propellers provide thrust
2/8
Overhead view showing the arrangement of the eight lifting engines and propellers while the two rear propellers provide thrust
Artist's drawing of the VTOL aircraft from the front
3/8
Artist's drawing of the VTOL aircraft from the front
4/8
Another overhead concept drawing with a different arrangement of engines between two sets of wings, fore and aft
5/8
Another overhead concept drawing with a different arrangement of engines between two sets of wings, fore and aft
The concept features wings mounted fore and aft
6/8
The concept features wings mounted fore and aft
Interesting picture from the Zee.Aero patent filing that shows the new aircraft design parked between two cars
7/8
Interesting picture from the Zee.Aero patent filing that shows the new aircraft design parked between two cars
Artists drawing of the Zee.Aero concept for a vertical take-off-and-landing (VTOL) flying car
8/8
Artists drawing of the Zee.Aero concept for a vertical take-off-and-landing (VTOL) flying car
View gallery - 8 images

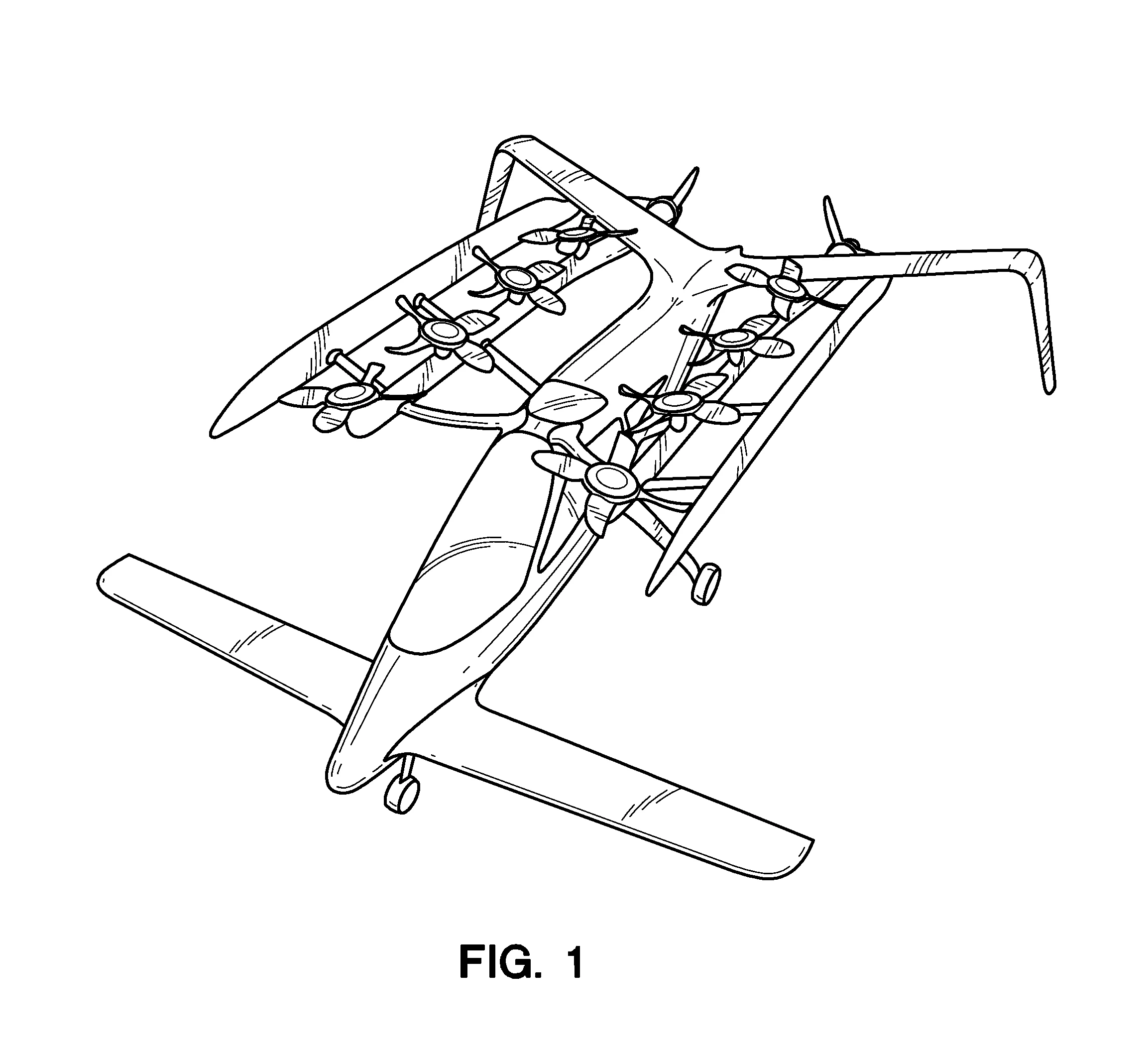
Zee.Aero, a small company located near the GooglePlex, home to Google, is working on a flying car concept that can take off and land vertically using a plethora of small electric motors turning four-bladed propellers. According to illustrations included with the patent filings, one version of the vehicle is narrow enough to fit into a standard shopping center parking space.

The Zee.Aero design sees wings mounted fore and aft, with the payload area mounted in between. This arrangement is called a canard wing, with the aircraft’s horizontal stabilizer mounted on the front of the aircraft instead of on the tail. On the top of this compact wing arrangement are a number of electric engines turning fat, four-bladed propellers.

This group of engines, which from the illustrations seems to number eight, can use battery power to lift the aircraft vertically for takeoff. Then two vertically mounted engines provide forward thrust until the wings have enough air traveling over them to provide lift. The small vertical engines can be shut down then for an efficient cruise flight.

The large number of propellers are to provide redundancy in the case of failure. Flight control in hover is provided by changing the thrust on individual engines, which is far simpler than the helicopter method of varying propeller pitch in various ways.

This vehicle design is being led by Ilan Kroo, an aeronautics professor and NASA scientist who has founded Zee.Aero and is listed as the inventor on the patent applications. Zee.Aero has listed on its web site a number of openings for aeronautical engineers, and states that it is aiming to use “aerodynamics, autonomy, and electric propulsion” to change personal aviation. The company also mentions the generous use of carbon fiber as a building material.

Interesting picture from the Zee.Aero patent filing that shows the new aircraft design parked between two cars
Interesting picture from the Zee.Aero patent filing that shows the new aircraft design parked between two cars

The intriguing pictures are all from the patent filings by the new company, and one of them shows a larger version of the vehicle with bigger engines and smaller wings parked between two cars, apparently at a supermarket or shopping mall, indicating a flying car.

The concept does bear some resemblance to other projects – we recently reported on the Volocopter, which has eighteen small electric engines providing lift in a snowflake arrangement. Flying cars like the Terrafugia must drive to the airport, spread wings, and take off from a runway. This is the same for the eastern-European designed Aeromobile.

There are certainly advantages of the Zee.Aero approach. Multiple electric motors can be driven from a common battery bank or gasoline-powered generator. Controls for such a craft are mechanically very simple, but will require some sophisticated software to make the aircraft easy to fly.

And just so you know, Caleb Garling of the San Francisco Chronicle reports that Kroo says that Google is not involved in the project and that the search giant's close proximity is just a coincidence.

Source: Zee.Aero, US Patent and Trademark Office, SFGate (Caleb Garling)

View gallery - 8 images
17 comments
17 comments
Ettore Esposito
So whoever want to realize a PAV has to put many electric motor on it? Puffin PAV: 2 Rayaircraft: 4+2 Zee.Aero: 8+2 Volocopter: 18 Who's next?
Matt Fletcher
Doesn't look like you could drive it past 15 mph or fly past 60 mph, so what's the point. Plus with vertical take off you still have to find a place where you can land and takeoff due kicked up debris during both. Looks stupid and ugly too. Not a big deal but if your ponying up $100k or more people generally want to look good.
ei3io
It will always be problematic to trust heavy powered spinning blades with 1000s of parts into the compromised functions of a car and a plane.
The future will very likely show propulsion by charged air alone and very few moving parts. Then with 100% networked control safety door to door without roads, the "flying car" question becomes simply the safest most versatile and efficient VTOL aircraft answer. Stay tuned,,,
Germano Pecoraro
sounds more like a design exercise
kamaaina
What about the tremendous noise and dust swirling around in the parking lot? How does a neighbor gets in and out of the car when this is taking off? Imagine the scene when this fails to take off, landing on shoppers .
steveraxx
So many negative comments. Glad I do not know you personally. Given the negativity you people project, it would be a stilted experience to know you.
Thankfully there are so many who are blissfully unaware of your negativity.
nehopsa
...the comment about the negativity is spot on.
I also keep noticing the same here at Gizmag - a stifling concentration of naysayers. To me it looks like every particular nay sayer is just vicariously boosting their little ego - what is a more effective way of doing so than by putting down other people/ideas/inventions? To come up with an idea is BIG - but to point out flaws in them all is way bigger - the infallible emotional logic of a nay sayer.
As for the ZEE car - I would love to see one operational ...and perhaps even fly one!
Nostromo47
This is a very neat design that seems to tackle the problem of producing a flying vehicle that can be easily parked in a garage, or, in this case, in the Kmart parking lot. The Moller Skycar M400 was designed, in part, with this requirement in mind. This vehicle seems to be more of a roadable aircraft than a "flying car" as such. The "roadability" would seem to be limited as there does not seem to be a surface propulsion system beyond the pusher props. That alone would make it little suitable to negotiating auto and pedestrian traffic to make a quick trip to the Seven-11. Also, I would be loathe to park my gleaming flying flivver in the supermarket shopping spaces with the fools who push shopping carts and open their car doors willy nilly into any vehicle unfortunate enough to be in range. Still, the design looks promising, perhaps not as a flying car, but as a VTOL vehicle that the average person could operate.
Stephen N Russell
Need cargo, van, sedan models alone Id drive/fly one & or rent for sure.
Load More