Aircraft

The Streetwing: a flying car for true adventure seekers

The Streetwing: a flying car for true adventure seekers
The Streetwing can charge via solar panels while it sits between drives/flights
The Streetwing can charge via solar panels while it sits between drives/flights
View 12 Images
Dezső casually working on the Streetwing's front wheel in his hangar while N81587, Dezső's Molnar GT flying gyrocycle, is just hanging out and photobombing
1/12
Dezső casually working on the Streetwing's front wheel in his hangar while N81587, Dezső's Molnar GT flying gyrocycle, is just hanging out and photobombing
Dezső proudly next to the Molnar GT photo being displayed in the Smithsonian
2/12
Dezső proudly next to the Molnar GT photo being displayed in the Smithsonian
The Streetwing can charge via solar panels while it sits between drives/flights
3/12
The Streetwing can charge via solar panels while it sits between drives/flights
The Streetwing on display at LA's CoMotion
4/12
The Streetwing on display at LA's CoMotion event along the Surfcycle
The Streetwing is so close to being complete
5/12
The Streetwing is so close to being complete
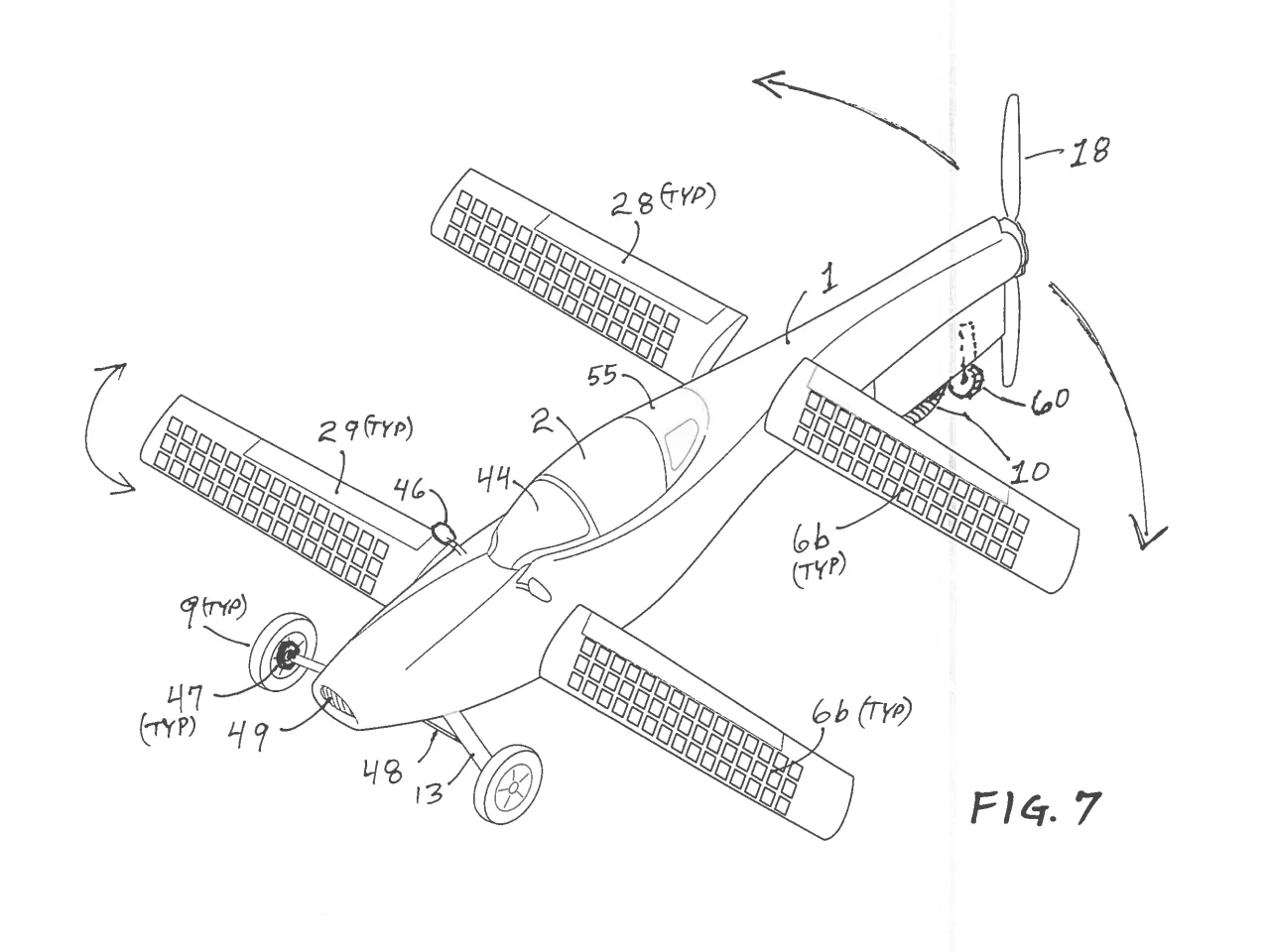
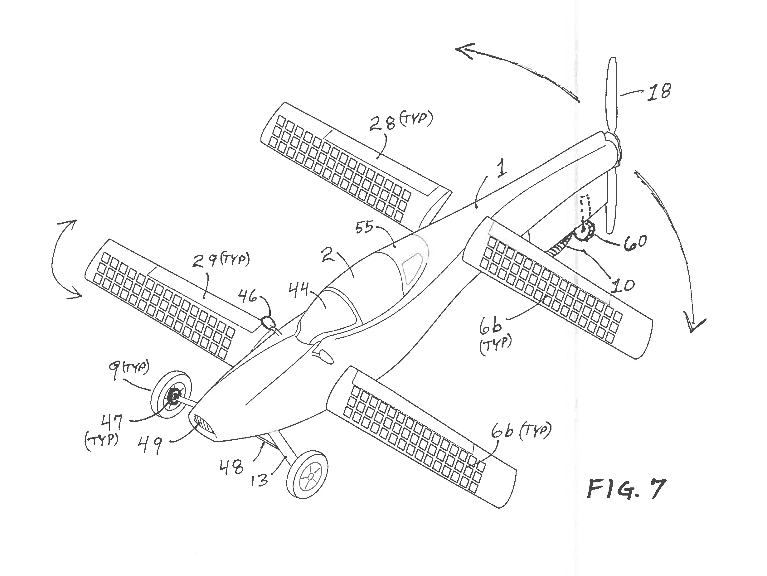
A rendering of the Streetwing in full flight mode
6/12
A rendering of the Streetwing in full flight mode
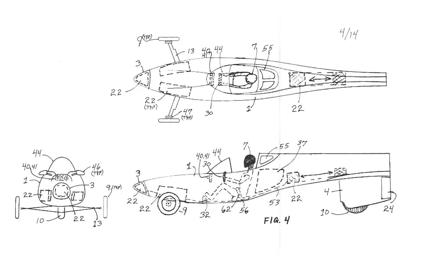
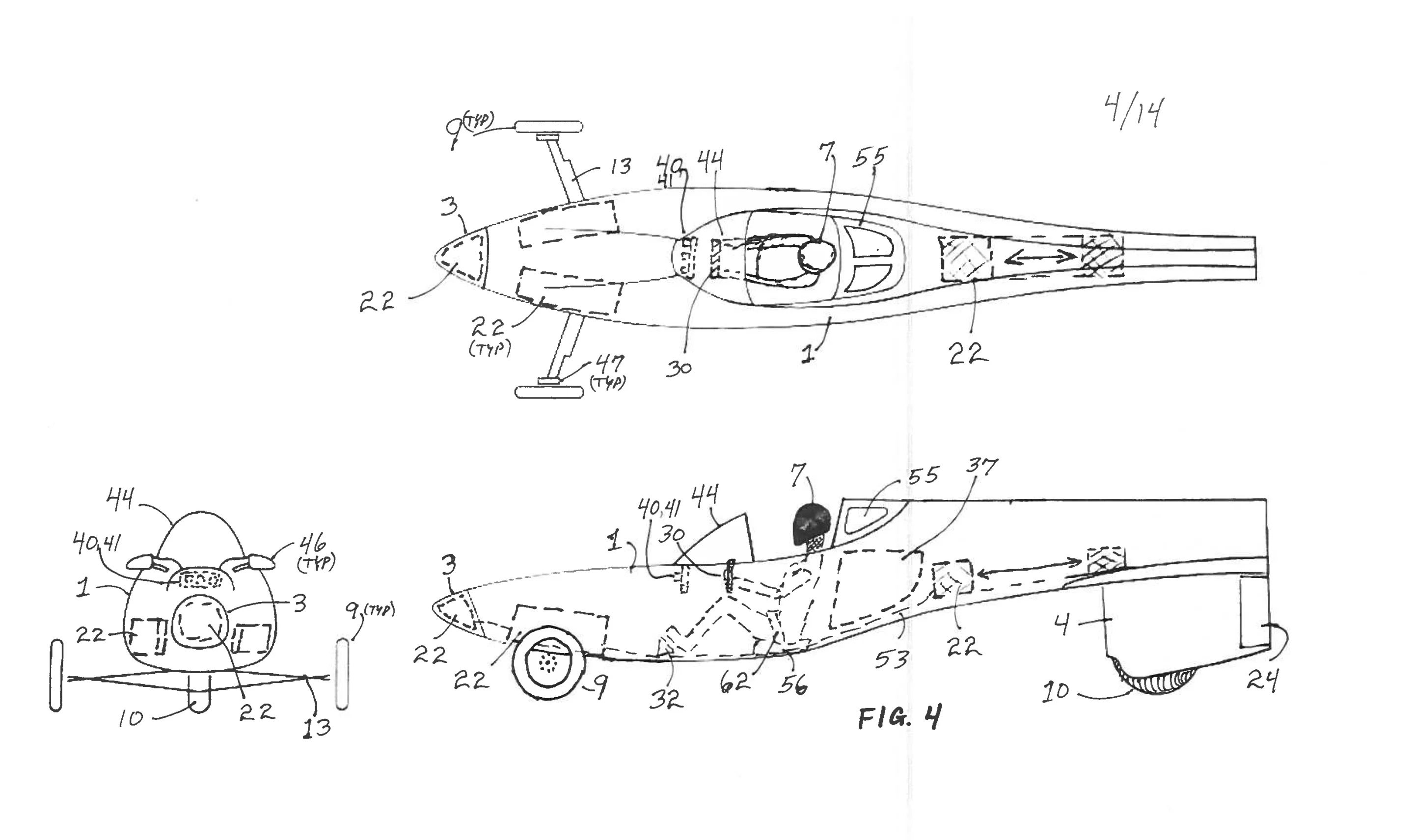
Figures that Dezső drew of the Streetwing showing seating position
7/12
Figures that Dezső drew of the Streetwing showing seating position and various other bits
A figure showing one of the land-sailing wing positions (the other is with the wingtips pointed up) where the flying car can be entirely propelled by wind in the right conditions
8/12
A figure showing one of the land-sailing wing positions (the other is with the wingtips pointed up) where the flying car can be entirely propelled by wind in the right conditions
Dezső is particularly proud of this feature: using the wings as a wind turbine to charge the batteries while parked – I have to agree, it's genius!
9/12
Dezső is particularly proud of this feature: using the wings as a wind turbine to charge the batteries while parked – I have to agree, it's genius!
Showing off the Streetwing's aft at the LA Auto show – Who doesn't like a nice aft?
10/12
Showing off the Streetwing's aft at the LA Auto show – Who doesn't like a nice aft?
Dezső at the LA Auto show, showing off the Streetwing alongside other major-leaguers like Fisker (at the time) and Porsche
11/12
Dezső at the LA Auto show, showing off the Streetwing alongside other major-leaguers like Fisker (at the time) and Porsche
The Streetwing posing amidst other major manufacturers at the Art Center Invitational show
12/12
The Streetwing posing amidst other major manufacturers at the Art Center Invitational show
View gallery - 12 images

The word "flying car" immediately puts visions of "The World of Tomorrow" World's Fair in my head. Retro-looking flashy contraptions like the Ford Volante concept car. If you were to ask Dezső Molnár what his vision of a flying car looked like, he'd simply show you the one he's building now.

It's been nearly a decade since New Atlas checked in with Dezső's then-concept Streetwing flying car. Much has changed in the overall appearance, but the fundamentals have stayed the same: build a vehicle that can drive on public roads and fly in the most fun and economic way possible for people who actually want to go places.

A quick background on the Los Angeles, California-based inventor will tell you he's probably unlike anyone you've ever met before. Having personally met him several times in various places around the US, I'd liken him to the Hunter S. Thompson of rocket science and inventions – sans the schedule-1 shenanigans, of course.

His roles have included flight engineer of a C-141B in the US Air Force, X-Prize judge, crew chief for the Spirit of America land speed record car (nearly breaking the sound barrier on land), flying motorcycle pilot, musician, collaborator of the Mixman DM-2 that Mattel made famous ... Honestly, I could go on. An entire article could be written just listing his various cool jobs, remarkable accomplishments, and sheer "Holy moly, he did what?!" moments.

Dezső at the LA Auto show, showing off the Streetwing alongside other major-leaguers like Fisker (at the time) and Porsche
Dezső at the LA Auto show, showing off the Streetwing alongside other major-leaguers like Fisker (at the time) and Porsche

Oh yeah, and one more thing: he belongs to the Explorers Club. You know, the club whose members include Buzz Aldrin, Neil deGrasse Tyson, Jane Goodall, James Cameron, and even the real-life inspiration for Indiana Jones, Dr. Roy Chapman Andrews.

"The Porsche 911 of flying cars"

Dezső envisions this to be the do-all machine for everything; either a single or two-seater configuration with an electric or fuel-powered drivetrain for day trips, long trips, or even racing. His motivation for creating it in the first place was his desire to travel the Pan-American Highway, which runs from Prudhoe Bay, Alaska, roughly 20,000 miles (~32,000 km) down to Ushuaia, Argentina – but with one major hurdle right in the middle: the undrivable Darién Gap. It's a 60-mile (100-km) stretch of thick jungle and swampland with zero roads in northern Colombia. Ferries to ship your vehicles around the gap are the typical means of going around this no-man's land ... but what if you could simply convert your car into a plane and just fly over it?

Molnár took design cues for the Streetwing from his personal Quickie 2 Tri-Q200 plane. He says, "I don't think 'Quickie' is a good name, so I call it xWing," because hey, "if you own it, you name it." Molnár designed a plug-mold for the Streetwing with the help of Craig Calfee – another world-renowned name, pioneering the very first carbon fiber bicycle ridden in the Tour de France – using similar dimensions and wing/wheel pattern as the xWing. That's pretty much where the likeness ends.

A rendering of the Streetwing in full flight mode
A rendering of the Streetwing in full flight mode

As it sits in its current configuration, the Streetwing is a street-legal, 17-ft-long (5.2-meter), "electric motorcycle" (per vehicle registration requirements, as it has two front wheels and one rear) with a 52-kW Zero electric motorcycle motor powering the rear propeller and an 8-kW hub motor powering the rear wheel. Molnár happened to have the electric motor lying around, so he stuffed it in there for the time being to get it driving. A bonus to the design is having a fixed rear drive-wheel that eliminates ground loops.

Showing off the Streetwing's aft at the LA Auto show – Who doesn't like a nice aft?
Showing off the Streetwing's aft at the LA Auto show – Who doesn't like a nice aft?

It's looking as though the final drivetrain configuration will be from Lightning's Strike R electric motorcycle – Richard Hatfield's more affordable version of the Lightning LS218 – aptly named for its land speed record of 218 mph (350 km/h). The Strike R motor is nearly as powerful as the ultra-fast LS218, at 180 hp (134 kW) and 120 lb-ft (163 Nm) of torque. It ought to be sufficient. It's certainly more than the Tri-Q plane has, power-wise. Molnár says that both flight and road use can be powered by the single electric motor with ease.

Once fitted with the Lightning Strike R motor, it's expected to quietly zip from 0-100 mph (161 km/h) in around 10 seconds using rear wheel power before the prop takes over for flight.

The Streetwing posing amidst other major manufacturers at the Art Center Invitational show
The Streetwing posing amidst other major manufacturers at the Art Center Invitational show

The Streetwing will sport two sets of lightweight 7-foot-long (2.1-m) wings in the same configuration as the Tri-Q200: a pair of forward canards and a pair of rear main wings. I say "will" because as of the time of writing, the wings are purely for configuration, demonstration, and storage purposes. In the future, Molnár will use proven sailplane technology to safely and effectively attach the wings to the fuselage for flight. And he has other ingenious plans for the wings, besides just covering them with 75 sq ft (7 sq m) of solar panels (about 1,700 watts worth).

In an alternate "sail" configuration, for instance, the wings could be oriented vertically to catch as much wind as possible. This would allow them to propel the Streetwing across desolate roads (think Hwy 85 in Saudi Arabia: 510 miles (822 km) of nearly ruler-straight, totally flat road across the desert), frozen lakes (Like Canada's "Winter Road" that spans roughly 373 miles (600 km) from Tibbitt to Contwoyto), or really anywhere that is sufficient for a good sail-powered land vehicle. In "sail mode," the rear wheel could act as a generator, capturing and storing power in the battery banks for future drive or flight.

A figure showing one of the land-sailing wing positions (the other is with the wingtips pointed up) where the flying car can be entirely propelled by wind in the right conditions
A figure showing one of the land-sailing wing positions (the other is with the wingtips pointed up) where the flying car can be entirely propelled by wind in the right conditions

Another creative and smart application, which Molnár admits is one of his prouder features of the Streetwing design, is to lash the plane to the ground with the nose pointing into the wind (as one normally would when parking their planes at an airport) and use the wings mounted in lieu of the prop as a wind turbine to charge the batteries while the craft is not in use, like during an overnight stop. With just a 15-mph (24-km/h) breeze, the current 6,000-watt generator could put a substantial charge back into the batteries. The wings are light enough that a single person can do the job.

Dezső is particularly proud of this feature: using the wings as a wind turbine to charge the batteries while parked – I have to agree, it's genius!
Dezső is particularly proud of this feature: using the wings as a wind turbine to charge the batteries while parked – I have to agree, it's genius!

When asked about the choice of an electric powertrain, Dezső explained that "small airports are shutting down because of noise. Straight pipes on traditional planes shoot downwards and you're not allowed to change the design of certified planes ... The Streetwing is much quieter ... The motor can shut down entirely on landing and even reverse prop to slow. It makes more runways accessible."

It's not just the noise; Most private planes were designed and developed in the 1950s, when Avgas (100-octane leaded aviation fuel) was 20-25 cents per gallon (3.8 liters) versus the $6-8 per gallon it is today. Jet-A was even cheaper in the 50s at roughly 10 cents per gallon versus the now, ranging from $5-7 per gallon.

With several means of the Streetwing generating its own electricity and the ability to simply plug it in for charging if there's power available, it could bring the cost of flying down from about $100 an hour to closer to $1 an hour. With Level 3 charging, the 400v system could charge from 20 to 80% in 10 minutes. Add in the fact you can simply drive away from the airport, and your ability to find better charging infrastructure becomes significantly higher than what a small airport might offer.

Figures that Dezső drew of the Streetwing showing seating position
Figures that Dezső drew of the Streetwing showing seating position and various other bits

Dezső says the Streetwing weighs in at about 560 lb (254 kg) without a pilot or batteries, leaving headroom of about 540 lb (245 kg) for pilot, batteries, and cargo. Pretty close in specs with the Tri-Q200. He expects to achieve at least a 200-mile (322-km) driving range or at least 100 miles (160 km) of flight before needing charging. While airborne, the Streetwing will use traditional flight controls: the trusty stick and rudder setup. On the ground, he says a standard steering wheel will do the trick.

So after nearly a decade, why hasn't Dezső finished building the Streetwing yet?

Well, aside from a few key contributors who have helped with the conceptual design, testing, and validation, the project has been entirely self-funded. Getting an airframe from concept to a 5,000-ft (1,500-m) elevation is nothing short of difficult, to say the least ... and prohibitively expensive.

While the chassis is absolutely roadworthy, there are still a few hurdles to get it airworthy – like a flight-worthy airframe. We're talking carbon fiber fuselage, suspension, all the flight equipment ... and wings that attach. Dezső is open to sponsorship proposals *hint-hint* if there's someone out there looking to be part of the Streetwing flying car project.

Dezső casually working on the Streetwing's front wheel in his hangar while N81587, Dezső's Molnar GT flying gyrocycle, is just hanging out and photobombing
Dezső casually working on the Streetwing's front wheel in his hangar while N81587, Dezső's Molnar GT flying gyrocycle, is just hanging out and photobombing

As soon as that minor detail is taken care of, the Streetwing will taxi along and get up to speed on its road wheels. Once up to speed, the push-prop will take over thrust-duty for flight and the rest is history!

This isn't Dezső's first time building a unique flying/driving machine. In 2005, he built the Molnár GT ... a "gyrocycle" that's one part motorcycle and one part gyroplane. Pictures of it sit proudly next to the original Wright Flyer in the Smithsonian Air & Space Museum in Washington, DC.

Dezső has no inclination to add creature comforts like an air conditioner or cupholders. "I'm positioning for exploration ... Let's just fly," he says. And honestly, you won't get any arguments from me.

Molnar Streetwing New Atlas edit

Dezső will be giving a talk at the Adventurer's Club in Los Angeles on June 12th, speaking on exploration and his flying car racing league!

Source: Dezső Molnár

View gallery - 12 images
10 comments
10 comments
John S
The Molnar family has been building the flying car for over 60 years. Always have terrific looking concepts, nothing truly viable though.
Eggbones
If he expects to get it past the FAA, he should probably have started with an flight-worthy airframe. I'd be surprised if it ever ended up being more than a fun project.
Ed
John S - I believe you are thinking about the Mollar flying car . . . not Molnar.
doc
You are correct ED.
As for the concept, probably the best i've seen all the other flying cars have well.. car shaped fuselages. this one is narrow and sleek !
PAV
He should get an Aptera and add his wings and motor.
Username
The PAL-V seems a lot more practical.
JS
@PAV - Haha! The Aptera is a slippery beast, for sure!
John S
Ed... you are correct. Thank you for letting me know.
Oirinth
Flying vehicle .. yes. Flying car .. not by any normal definition of Car.
Still interesting
MQ
Mollwe. Molnar, flying cars are ever fascinating, that Deso hasn't gone the energy dead end route of VTOL, though STOL with variable incidende wings would be an experimental avenue - trim wings for STOL, and zero float short landing.... Extending fabric trailing edge flaps for double the wing area at Low speeds. The FAA concerns re air frame are easily overcome in the experimental world, once enough hours are put on the airframe type certification is the barrier to commercialisation. A flight certified PROPULSION and energy system are the real hurdle, if Rotax doesn't have a hybrid systemin the works, there is a big problem..(USING EV-MOTO components won't do more than proof of concept. Flight usually takes a lot more than 2x the power of land transport, and It seems those 7ft wings are ea little on the high speed side of things (heavier than a glider with less wing.). Maybe back to a folding delta ragwing for simplicity, cost and ease of manufacture.