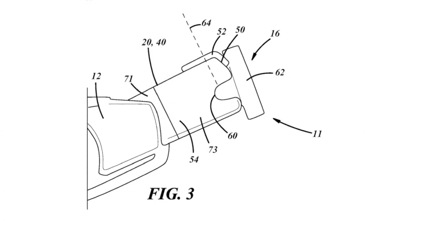
Stellantis – the conglomerate parent company of Fiat, Chrysler, and the French PSA Group, which sells brands like Alfa, Dodge, Jeep, Peugeot and more – has filed a new patent design that appears to be an all-in-one solution to something seemingly not needing a solution for 99.999% of drivers on the road today.
Turn to turn, push to accelerate, pull to brake. No foot controls necessary.
The concept works perfectly in a three-dimensional space like when flying a plane. Push to dive, pull to climb, turn to bank ... but you still use pedals to control the yaw.
In a land vehicle, inertia could constitute a very real issue with pull to slow down and push to speed up. Crashes aside, just think of the last big speed bump you drove over at 7 mph (11 km/h) instead of 5 mph (8 km/h) like the sign warned you to. Or when your four-year-old in the car seat behind you starts kicking the back of your seat while you're driving.
On the surface, the concept seems very impractical and very much goes follows the "if it ain't broke, fix it 'til it is" line of thinking.

On the other hand, those with lower body disabilities would benefit greatly from such a design. Those with quadriplegia or paraplegia who continue to drive have to install expensive or sophisticated hardware to control the foot pedals with their hands. Even double arm amputees that drive with only their feet could benefit from a complete yoke solution, keeping both feet on the wheel.
Or like a scene from the movie Demolition Man where "manually driving" is a foreign and dangerous concept reserved for emergencies where the norm is autonomous cars ferrying you to and fro, it could enable collapsible steering wheels that recess into the dash, giving drivers the freedom to do whatever it is one would do as a passenger in an autonomous car.
Theoretically, it could make for a great racing sim control where the driver is stationary and not affected by the real-world G-forces when turning, throttling, and braking.
Stellantis recently announced that all of its next-generation vehicles will be equipped with STLA AutoDrive, STLA Brain, and STLA (Smart) Cockpit. Autodrive being Stellantis' version of Tesla's Autopilot or Ford BlueCruise or GM Super Cruise.
Yves Bonnefont, Chief Software Officer of Stellantis, describes the foundation of any self driving vehicle is a centralized CPU that has access to all sensors and actuators, over-the-air capabilities, and the ability to control all software across all of the Stellantis brands uniformly. Something the STLA software suite will have.
Maybe the yoke will deflate and recess into the dash? We're excited to hurry up and wait to see if and how this technology is implemented going forward.
Note: Filing a patent doesn't mean that yoke controls will be put into place any time soon, or maybe ever. It does mean that Stellantis has the ability to do so if it so desires, and the auto group will own the rights to the designed technology laid out in the patent. However, history tells us that filing a patent is generally the path taken in the auto industry.
Source: United States Patent and Trademark Office via Carbuzz