Games

Sony files patent for universal game controller with LCD touch screen

Sony files patent for universal game controller with LCD touch screen
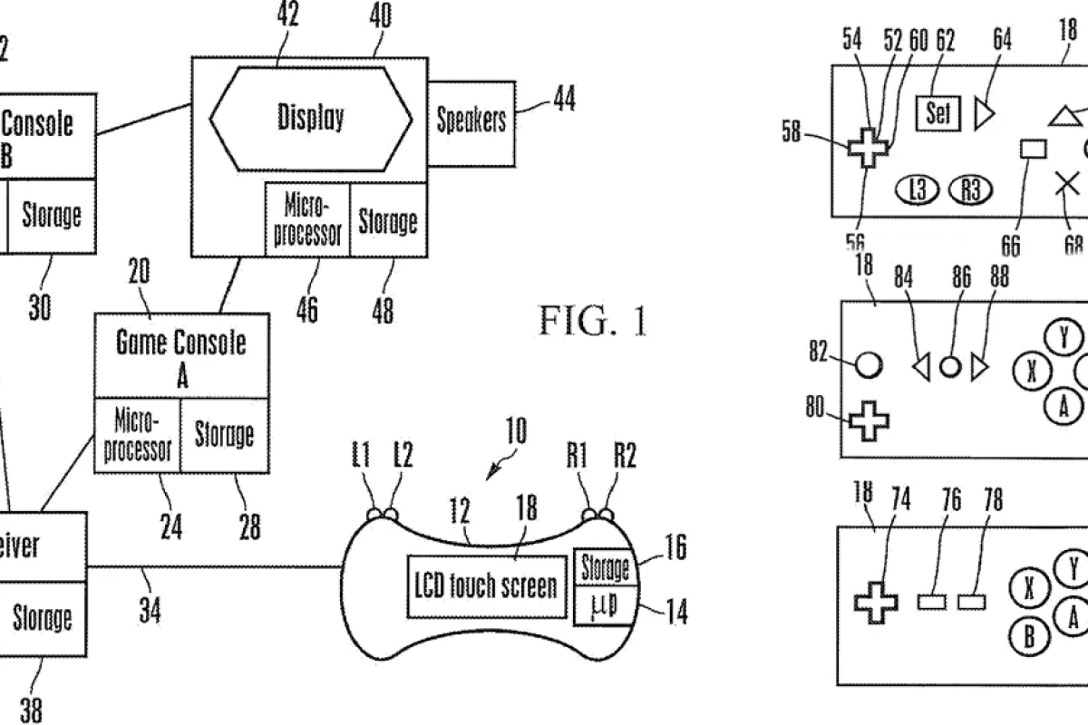
The patent application shows the controller and console setup (left) and different button configurations for the LCD touch screen (right)
The patent application shows the controller and console setup (left) and different button configurations for the LCD touch screen (right)
View 1 Image
The patent application shows the controller and console setup (left) and different button configurations for the LCD touch screen (right)
1/1
The patent application shows the controller and console setup (left) and different button configurations for the LCD touch screen (right)

According to a patent recently filed with the U.S. Patent and Trademark Office (USPTO) Sony is working on a universal game controller that could be used with competitor consoles from Microsoft and Nintendo. The proposed controller would see an LCD touch screen positioned on the front of the controller to replace the controller's face buttons, directional pad and thumb-sticks.

Depending on what type of console has been selected the LCD will display different touch sensitive controls. The device would operate with a receiver unit connected to the console and would be compatible with, “the Playstation made by Sony, a controller made by Nintendo, X-box game controllers made by Microsoft, Atari Jaguar controllers, Gravis Gamepad controllers, Sega controllers, and Turbographics controllers”.

While a universal controller might sound like a good idea for houses with multiple consoles I have to question the use of a touch screen for the face buttons since the tactile response of, and use of touch to locate, the buttons is so important while gaming. A flat surface would likely make it all too easy to accidentally hot the wrong button at the wrong time.

Whether Sony actually intends to put the universal game controller into production, or whether filing the patent is just a way to make it tougher for any competition to do so remains to be seen.

Via GoRumors.

2 comments
2 comments
Ed
\"A flat surface would likely make it all too easy to accidentally *hot* the wrong button at the wrong time.\"
haha...Pun intended?
johnweythek
i want a ps3 controller for my pc. if it's anything like that i'm sold.