Motorcycles

Kawasaki set to debut night vision, helmet-mounted heads-up displays and collision avoidance technology

Kawasaki set to debut night vision, helmet-mounted heads-up displays and collision avoidance technology
View 12 Images
1/12
Top view of the sensor-containing rear view mirror
2/12
Top view of the sensor-containing rear view mirror
Side view of the highy desirable next generation ZX1400
3/12
Side view of the highy desirable next generation ZX1400
The heads-up display and how it will sit on your helmet
4/12
The heads-up display and how it will sit on your helmet
Frontal view of the outrageously exotic next generation ZX1400
5/12
Frontal view of the outrageously exotic next generation ZX1400
Another patent drawing shows the heads-up system which will come with the bike and be fitted to the helmet of your choice
6/12
Another patent drawing shows the heads-up system which will come with the bike and be fitted to the helmet of your choice
Frontal view of the ZX1400 rear view mirror
7/12
Frontal view of the ZX1400 rear view mirror
Top down view of the next generation ZX1400
8/12
Top down view of the next generation ZX1400
Patent diagrams show the Kawasaki heads-up display and how it will integrate with a helmet
9/12
Patent diagrams show the Kawasaki heads-up display and how it will integrate with a helmet
Front and rear schematic shows the system integrated with the fairing
10/12
Front and rear schematic shows the system integrated with the fairing
Kawasaki's new system will include forward-facing sensors in the rear view mirrors
11/12
Kawasaki's new system will include forward-facing sensors in the rear view mirrors
12/12
View gallery - 12 images

June 8, 2009 KAWASAKI'S 1400 GTR is already one of the most technologically-advanced bikes on the planet – with variable valve timing, keyless ignition and tyre pressure sensors as standard – but the firm is preparing a whole new generation of ground breaking technology for the next-generation GTR. Heading up the technological onslaught comes a system that until now has been in the preserve of only the world's most expensive cars; night vision.

Kawasaki has developed its own infra-red night vision technology, giving riders a view beyond the range of the bike's conventional headlights, and is racing to get it ready for use on production bikes with few or no changes to the basic design of the bikes themselves – allowing it to be fitted as an option or even as an aftermarket upgrade. And detailed drawings of the design clearly reveal that the GTR is being used as the guinea pig for Kawasaki's night vision, in line with its role as the firm's technology leader.

So, how does it work? The answer lies in a pair of infra-red cameras mounted behind clear lenses set into the front of the bike's rear-view mirrors. Picking out images even in pitch darkness, these work together like a pair of eyes to give a stereoscopic view to the bike's on-board computer – allowing it to judge how far away objects are and alert the rider if there's anything in his path that's beyond the reach of the conventional headlights.

One of the cameras also provides an image to be displayed on an LCD screen set into the bike's instrument panel.

It might sound like sci-fi, but similar systems are already being offered in high-end cars like the most expensive Mercedes and BMW machines, with Kawasaki's system being close in concept to BMW's design. The camera's used by Kawasaki are long-wave “far infra-red” cameras, which pick up their images based on heat rather than light, so the system is ideal for highlighting people or animals in the road but can't identify objects that are no hotter than the background. Alternatives like the Mercedes system, use short-wave “near infra-red” technology working like military systems by combining an invisible infra-red light with an infra-red camera, giving the green-tinged view that we've all come to associate with night-vision thanks to Hollywood depictions of such systems and showing the entire scene ahead rather than only revealing heat sources.

Using far infra-red makes sense on a bike, where space is at a premium, as it needs no extra lights – the cameras alone can pick up heat 300 meters or more ahead of the bike, well beyond the range of even high-beam headlights.

But the system goes beyond simply revealing an extended view into the darkness, as it also works to actively alert riders to dangers. So you're not constantly checking the dash-mounted screen for hidden dangers, the on-board computer is able to identify objects and highlight them – either using the display itself or an audio warning via a Bluetooth headpiece in your helmet – as well as giving extra details, for instance a read-out of how far the object is from the bike. Again, BMW's latest-generation night-vision system does the same thing in the firm's cars, although even BMW has yet to show any sign of fitting such a device to its bikes.

Given the fact the technology is available right now, and that Kawasaki has already filed very detailed patents – specifically around the way the new system mounts on the GTR and how it integrates with the GTR's electronics – it's likely that we'll see the debut of night vision on the firm's range-topper either as an option or standard equipment in time for when the company's 2010 model year machines are revealed at the Paris show this autumn.

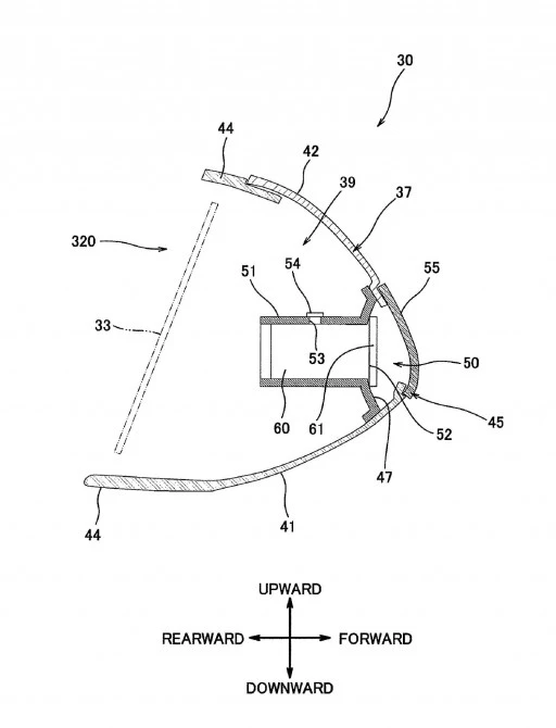
AS well as revealing details of its night-vision system Kawsaki's latest patents also hint at another big leap in getting information to riders in the form of helmet-mounted head-up displays.While initial versions of night vision are expected to use a simple dash-mounted screen to display their images and information, the next step is to incorporate the pictures into a readout right in front of the rider's eyes.

Kawasaki is, for instance, incorporating a tilt sensor to correct images in relation to the bike's lean and Bluetooth capabilitites into its design, and in the patent its designer, Akira Nakaya, says: “The display device may be constructed of a helmet mount display. In this case, the night vision system is equipped with a short-distance radio device according to a specification, for example Bluetooth to receive and send information between the CPU on the vehicle body side and the display device on the helmet side. Likewise, the alarm sound emitting device may be provided on the helmet side. By providing the display device and the alarm sound emitting device on the helmet side, a size of the front part of the vehicle body does not increase or a structure of the front part of the vehicle body does not become complicated.”

Significantly, one of the main designers of the GTR, Kaoru Kouchi, has also been working on the development of a helmet-mounted head-up display to go hand-in-hand with the new technology. Cleverly, his display is designed to mount around the outside of a normal motorcycle helmet, rather than being incorporated into the helmet itself.

With a helmet-mounted display the image from the infra-red camera, combined with the read-outs from the related computer system, can be either displayed in the peripheral vision of the rider or even superimposed over the view through the visor – highlighting dangers in the rider's own view of the road ahead.

Ben Purvis

View gallery - 12 images
No comments
0 comments
There are no comments. Be the first!