stellantis
-
Here’s a fun fact: Fiat's Topolino doesn’t even certify as a proper car, but rather an electric “quadricycle.” How will the under-100-inch-long compact electric runabout fare in a market that's dominated by big performance cars and heavy trucks?
-
Jeep is going all out to court thrillseekers with the 2026 Recon SUV. This chunky all-electric 4x4 packs a raft of features for making light work of craggy trails, along with plenty of power under the hood, and creature comforts to boot.
-
Stellantis, which counts Dodge, Jeep, and Chrysler among its portfolio of automobile brands, says its Level 3 automated driving tech is ready to take over the wheel and let you take your eyes off the road safely.
-
Despite a wave of doubters, the electric vehicle revolution is still going strong. Per the latest report by Cox Automotive, EVs will account for around 10% of the market in 2025, up from about 7.5% in 2024.
-
In a potentially game-changing move for the EV industry, Stellantis and Zeta Energy Corp have teamed up to develop the next-generation EV battery with more range, more power, 50% faster charging, and at less than half the cost.
-
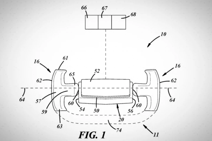
Stellantis has filed a patent for a yoke-style steering-throttle-braking type of steering "wheel/control", similar to Tesla's approach to the steering-yoke, but deleting the foot controls altogether. Goodbye brake pedal, goodbye accelerator pedal.
-
Mopar has revealed its customized, limited-production 2024 Jeep Gladiator pickup. And the parts and accessories arm of Stellantis only plans to make 250 of them, exclusively for the US market.
-
Stellantis has pulled back the curtains on an adorable electric micro car called the Topolino, which is described as the "perfect urban mobility device" and comes in two distinct styles – one that's closed up and another that does away with the doors.
-
Stellantis-owned Italian car maker Fiat has announced a bigger sister for its 500e city car. The five-door 600e subcompact is designed for city life, but ready for weekend adventures beyond the city limits.
-
The new Charger Daytona SRT Concept shows that Dodge's electrified muscle car lineup will be even sharper and more tunable than its ICE line. The new Charger concept has 400- and 800-V architecture options with no fewer than nine tuning stages.
-
The world's fifth-largest automaker has built and tested a charge-as-you-drive system – a loop of road in Italy with wireless EV charging coils embedded under the surface, so that electric cars can charge as they drive and unlock unlimited range.
-
France's DS Automobiles has caught our eye yet again with its latest hard-charging electric concept car. The E-Tense Performance brings an 805-hp powertrain across from Formula E, complete with a monster regen system that makes the brakes redundant.
Load More